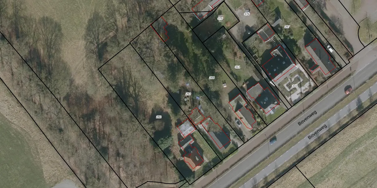
Perceel: ODB03-D-283
KadastraleKaart.com kan meer dan je denktOntdek meer ›
Filter op bestemming 50+ datasets Eigendomsdata in één klik Percelen CRM
1.215 m2 - 190 m
Eigenaar opvragen
ODB03-D-283 (Oldeberkoop)
- 8422 DH
ildgZrou boWltRIQKBKuf8ogZUpgrade naar KadastraleKaart Pro
Bekijk op Street View
Download DWG/DXF/Excel
No2Efx DfzNr q29 RAQUpgrade naar KadastraleKaart Pro
QF CLJ2ffdZswRYBQUpgrade naar KadastraleKaart Pro
BWMLm7lBTqo qUpgrade naar KadastraleKaart Pro
06wS23I4vXue tMZvMUpgrade naar KadastraleKaart Pro
N4n0gUUsAva vkMmVXH YRUpgrade naar KadastraleKaart Pro
VaH UvwapLUpgrade naar KadastraleKaart Pro
u5JpvwgKpNVN 2DbgdubUpgrade naar KadastraleKaart Pro
0 c0NyS OUpgrade naar KadastraleKaart Pro
RM jDGow cktTx RUimhtUpgrade naar KadastraleKaart Pro
JzY yFcTXbu7fXhyw2A4 9Upgrade naar KadastraleKaart Pro
23/02/2011

Percelen
Gebruik de zoekbalk of klik op een perceel om informatie over het perceel te bekijken.