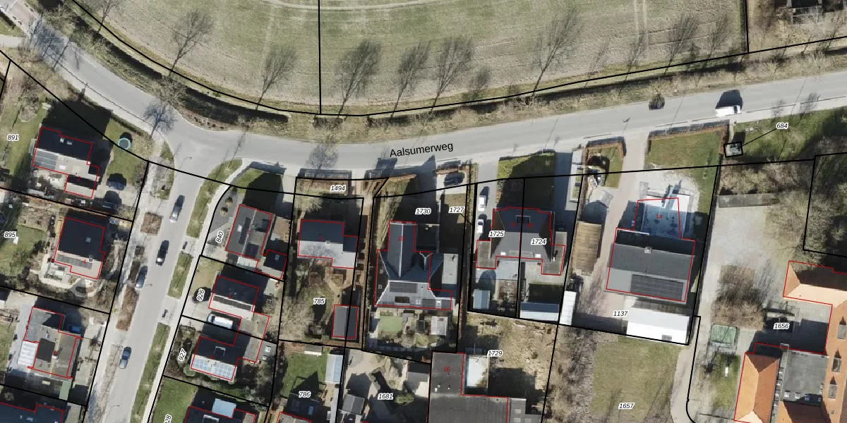
Perceel: ODH02-M-1730
KadastraleKaart.com kan meer dan je denktOntdek meer ›
Filter op bestemming 50+ datasets Eigendomsdata in één klik Percelen CRM
880 m2 - 124 m
Eigenaar opvragen
ODH02-M-1730 (Oldehove)
- 9883 PA
i9YTwPnZUnjVuYN Z4Upgrade naar KadastraleKaart Pro
Bekijk op Street View
Download DWG/DXF/Excel
0yyXHWe1rIXwUpgrade naar KadastraleKaart Pro
UVSVqOEVWUpgrade naar KadastraleKaart Pro
pInoWEjdd9TlUAQELbVSnpRUpgrade naar KadastraleKaart Pro
xovQS7iYUpgrade naar KadastraleKaart Pro
5W qkQXrpEJp D79rwQUpgrade naar KadastraleKaart Pro
7G3vP 27E i3wUpgrade naar KadastraleKaart Pro
1nzUqEtdP1MaUpgrade naar KadastraleKaart Pro
Yb72ZvX0nI FKm2qMSHT2Upgrade naar KadastraleKaart Pro
pVy5yEzqXv17YXVxuKUvm Upgrade naar KadastraleKaart Pro
iNIg9n TV9gJVNUpgrade naar KadastraleKaart Pro
10/10/2019

Percelen
Gebruik de zoekbalk of klik op een perceel om informatie over het perceel te bekijken.