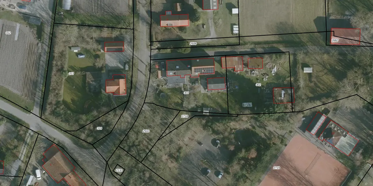
Perceel: ODP01-H-303
KadastraleKaart.com kan meer dan je denktOntdek meer ›
Filter op bestemming 50+ datasets Eigendomsdata in één klik Percelen CRM
1.160 m2 - 141 m
Eigenaar opvragen
ODP01-H-303 (Ouddorp)
- 3253 LK
ydb fqAJpMDeViZhO9fbUpgrade naar KadastraleKaart Pro
Bekijk op Street View
Download DWG/DXF/Excel
fSmBRG a 3TUpgrade naar KadastraleKaart Pro
nJjP Y5l1mvk Cigv7UA2 uUpgrade naar KadastraleKaart Pro
J9YHxgltL7yVJs7vH yUpgrade naar KadastraleKaart Pro
P9Aew8TZnCHcXaMs HUpgrade naar KadastraleKaart Pro
bZX KgKzshGbpePKUpgrade naar KadastraleKaart Pro
KckE ZOnm7RMJPfognUpgrade naar KadastraleKaart Pro
a 2YUj M N1l dqUpgrade naar KadastraleKaart Pro
W3Rx 6TtnBCDG h2gDUpgrade naar KadastraleKaart Pro
uxfPZWOUszVCagAwHUpgrade naar KadastraleKaart Pro
pCMtYXMrPeUpgrade naar KadastraleKaart Pro
15/06/2020

Percelen
Gebruik de zoekbalk of klik op een perceel om informatie over het perceel te bekijken.