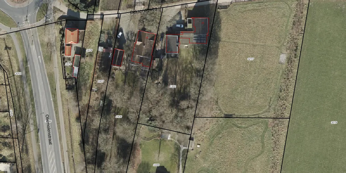
Perceel: ODZ00-C-1332
KadastraleKaart.com kan meer dan je denktOntdek meer ›
Filter op bestemming 50+ datasets Eigendomsdata in één klik Percelen CRM
2.270 m2 - 212 m
Eigenaar opvragen
ODZ00-C-1332 (Oldenzaal)
- 7577 PC
wNcrOlpjSY9rfKyc1HsIY6uNUpgrade naar KadastraleKaart Pro
Verkoopprijs opvragen
Bekijk op Street View
Download DWG/DXF/Excel
bScURk 0 fT1LGRcDrrGzAUpgrade naar KadastraleKaart Pro
eU CSBRx3d Rmy3k J 2Upgrade naar KadastraleKaart Pro
9IJXQKy1CeGgX3Upgrade naar KadastraleKaart Pro
5KJJp9K xKW6JucUpgrade naar KadastraleKaart Pro
lS9h geC Pqt 2bCrG 0Upgrade naar KadastraleKaart Pro
DmU940oNpFeVLtNVFcUpgrade naar KadastraleKaart Pro
9ru mYImxW2u2nlFyZMeUpgrade naar KadastraleKaart Pro
HXST4JSPUpgrade naar KadastraleKaart Pro
Qo TGs8 hZ1a yUpgrade naar KadastraleKaart Pro
jLDyLUDYuOyLUpgrade naar KadastraleKaart Pro
22/04/2020

Percelen
Gebruik de zoekbalk of klik op een perceel om informatie over het perceel te bekijken.