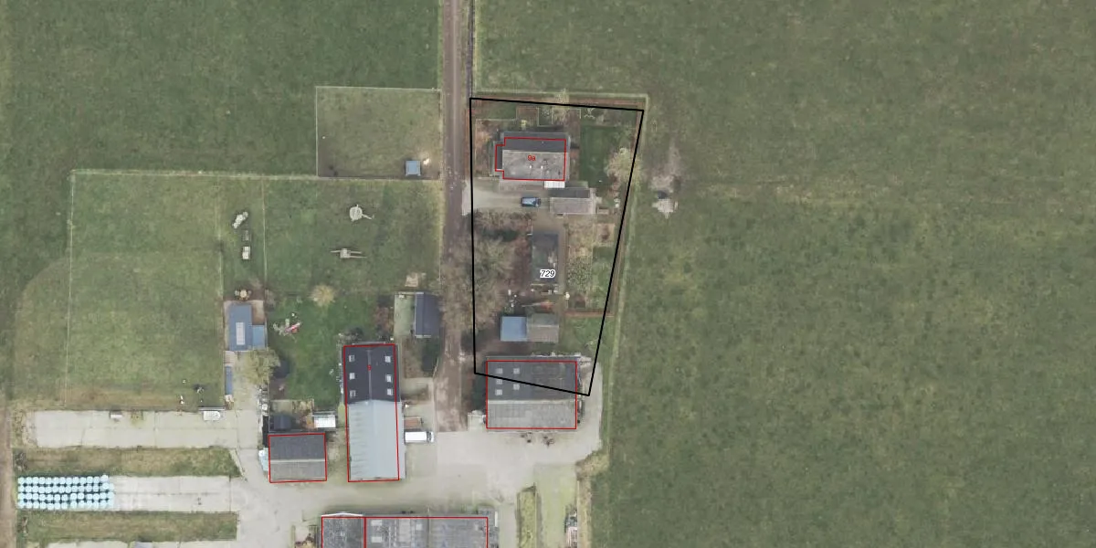
Perceel: OMN01-M-729
KadastraleKaart.com kan meer dan je denktOntdek meer ›
Filter op bestemming 50+ datasets Eigendomsdata in één klik Percelen CRM
1.380 m2 - 156 m
Eigenaar opvragen
OMN01-M-729 (Ambt-Ommen)
- 8146 SE
boZnyjU Zxs VO4U 4ZUpgrade naar KadastraleKaart Pro
Bekijk op Street View
Download DWG/DXF/Excel
AVhAj4 35W5uUpgrade naar KadastraleKaart Pro
d 2P A8WOXKp UTN 3nwBOUpgrade naar KadastraleKaart Pro
YF3WuI68GEjm W1WUpgrade naar KadastraleKaart Pro
MZgxgenpUhP8fu 3N5WrLUUpgrade naar KadastraleKaart Pro
ip F2QZYsUpgrade naar KadastraleKaart Pro
FtZEi sTv6nKxrFnUpgrade naar KadastraleKaart Pro
Hmlo4V 51 IBJik3 K84yfaUpgrade naar KadastraleKaart Pro
jJ5VdkgoqTVtF KgvUpgrade naar KadastraleKaart Pro
ezS9WQE6nc6miCNUpgrade naar KadastraleKaart Pro
Tdp4EN9 HUpgrade naar KadastraleKaart Pro
06/09/2002

Percelen
Gebruik de zoekbalk of klik op een perceel om informatie over het perceel te bekijken.