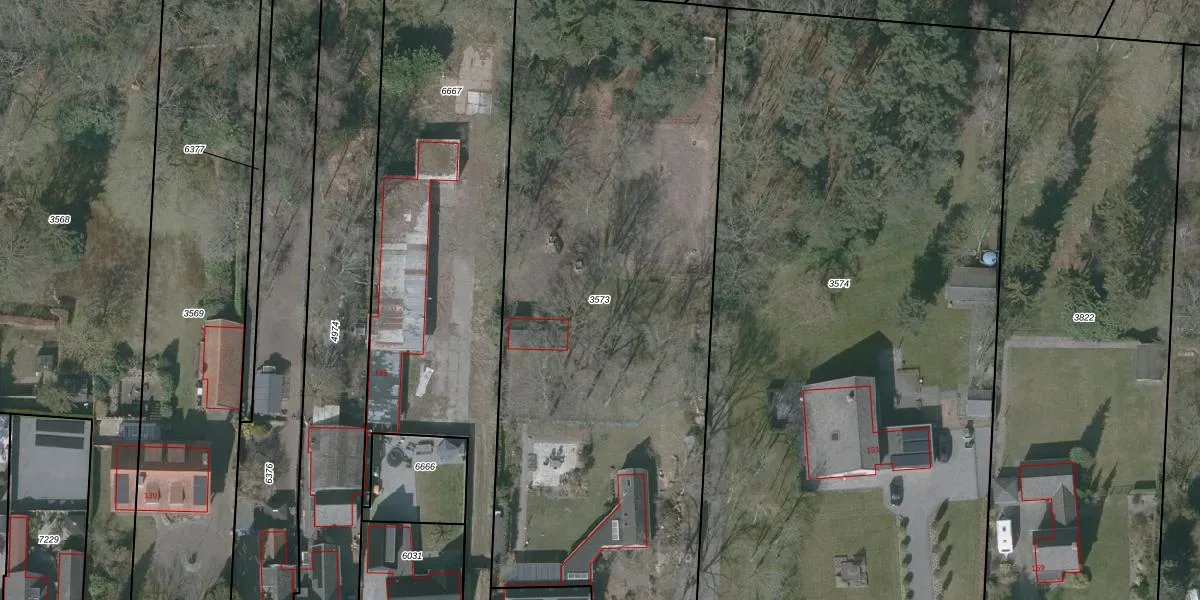
Perceel: OSD00-D-3573
KadastraleKaart.com kan meer dan je denktOntdek meer ›
Filter op bestemming 50+ datasets Eigendomsdata in één klik Percelen CRM
Geen adressen bij dit perceel
3.564 m2 - 295 m
Eigenaar opvragen
OSD00-D-3573 (Ossendrecht)
- Geen postcode aanwezig
IJWBjeTNHlkk tjMd pw8XiUpgrade naar KadastraleKaart Pro
Bekijk op Street View
Download DWG/DXF/Excel
z6BGSijvUpgrade naar KadastraleKaart Pro
Of1UnBwhHcRUpgrade naar KadastraleKaart Pro
sZKjqYB dGmFm5 mF LwgUpgrade naar KadastraleKaart Pro
Ko prlCYUpgrade naar KadastraleKaart Pro
PZrSB46cBqQFDFBxJFgUpgrade naar KadastraleKaart Pro
yhLljTnFPe6LhFUpgrade naar KadastraleKaart Pro
m H m2p 0d2kq4y6aUpgrade naar KadastraleKaart Pro
Q ajCXJilYS4nUpgrade naar KadastraleKaart Pro
phK4pMUFEcM3AaoDUpgrade naar KadastraleKaart Pro
rr0xGa4 nOS uUpgrade naar KadastraleKaart Pro
04/12/2006

Percelen
Gebruik de zoekbalk of klik op een perceel om informatie over het perceel te bekijken.