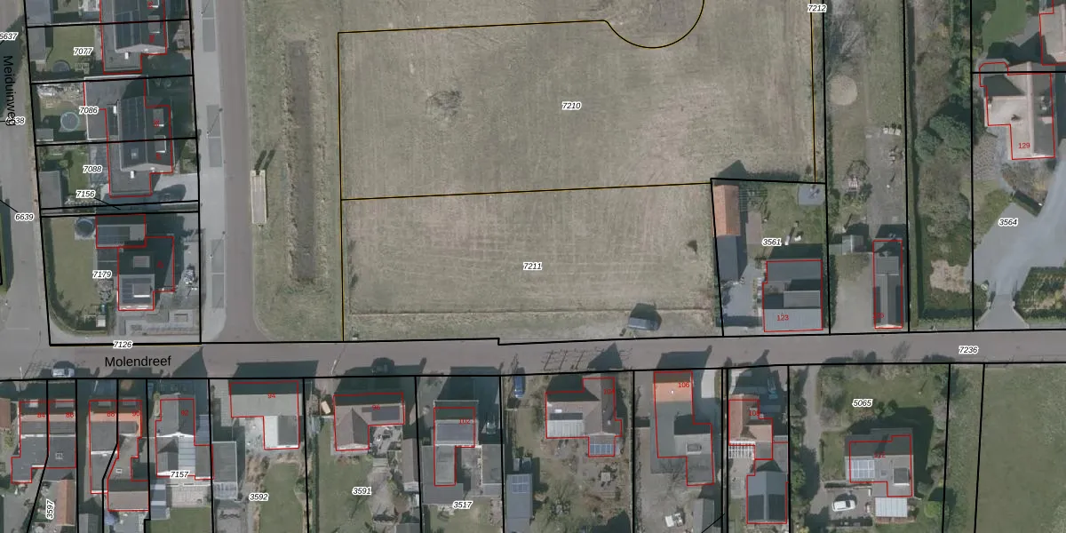
Perceel: OSD00-D-7211
KadastraleKaart.com kan meer dan je denktOntdek meer ›
Filter op bestemming 50+ datasets Eigendomsdata in één klik Percelen CRM
Geen adressen bij dit perceel
1.959 m2 - 198 m
Eigenaar opvragen
OSD00-D-7211 (Ossendrecht)
- Geen postcode aanwezig
AAlwAjaKDpcw00dNUpgrade naar KadastraleKaart Pro
Bekijk op Street View
Download DWG/DXF/Excel
l ai0Q xWtw1HUpgrade naar KadastraleKaart Pro
HdGT io9634RFpzjUpgrade naar KadastraleKaart Pro
iZ2z9go5 DPg9Upgrade naar KadastraleKaart Pro
K52A5wGDsTM6Ufh2SSBbUpgrade naar KadastraleKaart Pro
1uneADtCKUpgrade naar KadastraleKaart Pro
ZIByLT wGQVQUpgrade naar KadastraleKaart Pro
CRzLmAQUUq GMn1Upgrade naar KadastraleKaart Pro
SmCiOK UY Gtf5 Sp 7 isUpgrade naar KadastraleKaart Pro
hY HDqv3frs y08kUpgrade naar KadastraleKaart Pro
ac NvCh KgDy5Vr EUpgrade naar KadastraleKaart Pro
27/05/2021

Percelen
Gebruik de zoekbalk of klik op een perceel om informatie over het perceel te bekijken.