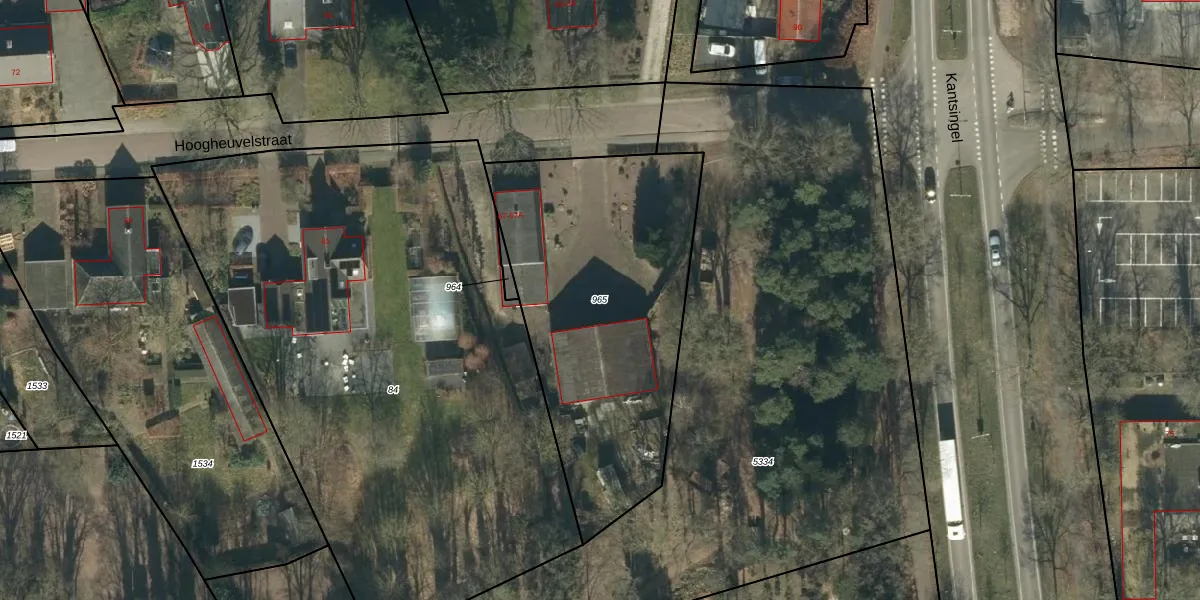
Perceel: OSS00-F-965
KadastraleKaart.com kan meer dan je denktOntdek meer ›
Filter op bestemming 50+ datasets Eigendomsdata in één klik Percelen CRM
1.519 m2 - 175 m
Eigenaar opvragen
OSS00-F-965 (Oss)
- 5342 VT
0vGI8lGy0eYszMmHB5 H dUpgrade naar KadastraleKaart Pro
Bekijk op Street View
Download DWG/DXF/Excel
00DfIblfIL7i3iuJebpKSUpgrade naar KadastraleKaart Pro
JnGY BfKMMuotsUpgrade naar KadastraleKaart Pro
2TlFDpt CzlNWJOT4T838g4Upgrade naar KadastraleKaart Pro
HkslF8eLxHiZ7hUpgrade naar KadastraleKaart Pro
5hLAL6YI1nnhIpaJO1bMN8Upgrade naar KadastraleKaart Pro
yvVgarSyEHjOrgKSUpgrade naar KadastraleKaart Pro
LO9yVILCW9wFHKIVr2peUpgrade naar KadastraleKaart Pro
XiAvUCX3lgb aX Upgrade naar KadastraleKaart Pro
f96lI3 6Upgrade naar KadastraleKaart Pro
eBSVc9cz4e7nVQQE8Upgrade naar KadastraleKaart Pro
23/06/2009

Percelen
Gebruik de zoekbalk of klik op een perceel om informatie over het perceel te bekijken.