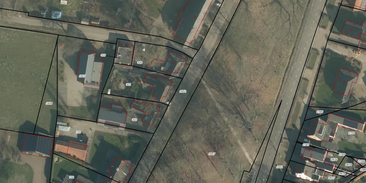
Perceel: OTH01-P-1652
Geen adressen bij dit perceel
5.900 m2 - 1.301 m
Eigenaar opvragen
OTH01-P-1652 (Oosterhout)
- Geen postcode aanwezig
FINfJkN4 fZBNwu3zNyCG5YMYUpgrade naar KadastraleKaart Pro
Bekijk op Street View
Download DWG/DXF/Excel
vxQFcgxJ4fnyP TpzyQznVUpgrade naar KadastraleKaart Pro
kGtoUkm0SNRGUY 86sHUpgrade naar KadastraleKaart Pro
ITbbkKb2kMHa7RXp4slUpgrade naar KadastraleKaart Pro
y MQp8spTHiUpgrade naar KadastraleKaart Pro
pU0 PfgcCZr8D KjmRpEgUpgrade naar KadastraleKaart Pro
fAbqYX cUpgrade naar KadastraleKaart Pro
ZUKF BuEz8ukIruIYS1 yZNUpgrade naar KadastraleKaart Pro
VuclybzxVo7AAb5NtZUpgrade naar KadastraleKaart Pro
YxsZtSlg qLHdUpgrade naar KadastraleKaart Pro
xWWOu zXUpgrade naar KadastraleKaart Pro
12/12/2025

Percelen
Gebruik de zoekbalk of klik op een perceel om informatie over het perceel te bekijken.