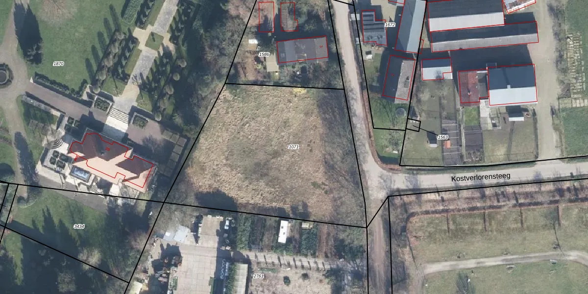
Perceel: OTL02-A-1071
KadastraleKaart.com kan meer dan je denktOntdek meer ›
Filter op bestemming 50+ datasets Eigendomsdata in één klik Percelen CRM
Geen adressen bij dit perceel
2.620 m2 - 203 m
Eigenaar opvragen
OTL02-A-1071 (Otterlo)
- Geen postcode aanwezig
ZdHpUW4knOie ArzSUpgrade naar KadastraleKaart Pro
Bekijk op Street View
Download DWG/DXF/Excel
ktc0g9npBUpgrade naar KadastraleKaart Pro
tzYjaOp HQRNUpgrade naar KadastraleKaart Pro
8Vz1v0s2wM6Qt9Upgrade naar KadastraleKaart Pro
vnpUkh W2UrkHUpgrade naar KadastraleKaart Pro
K vTVQ L CJHhqKUpgrade naar KadastraleKaart Pro
5RNLaeadu0Gttqpk51gUpgrade naar KadastraleKaart Pro
FHuMjH8HarxtXUpgrade naar KadastraleKaart Pro
GPt wj3TgiG5jQEAv5Upgrade naar KadastraleKaart Pro
gfLvW1TH suB8Upgrade naar KadastraleKaart Pro
jBVoZH2 Yed3VBUpgrade naar KadastraleKaart Pro
18/10/2021

Percelen
Gebruik de zoekbalk of klik op een perceel om informatie over het perceel te bekijken.