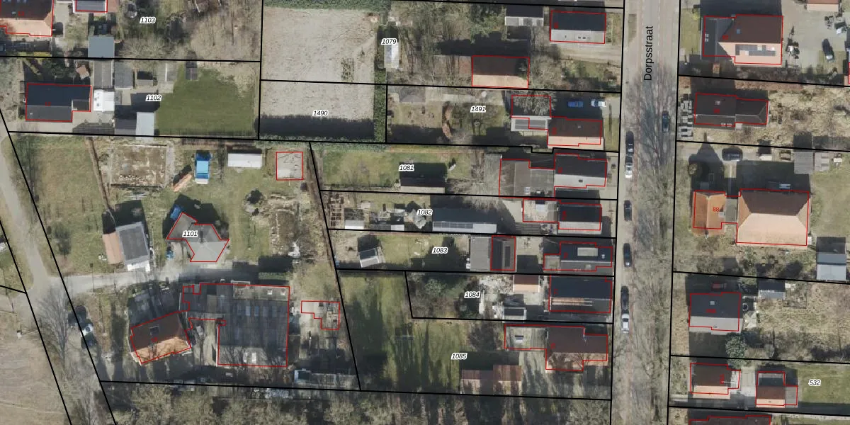
Perceel: OWD00-R-1082
KadastraleKaart.com kan meer dan je denktOntdek meer ›
Filter op bestemming 50+ datasets Eigendomsdata in één klik Percelen CRM
620 m2 - 156 m
Eigenaar opvragen
OWD00-R-1082 (Onstwedde)
- 9591 AS
tw48EQSdVu txXzYUmh14fe 5bwg XUpgrade naar KadastraleKaart Pro
Verkoopprijs opvragen
Bekijk op Street View
Download DWG/DXF/Excel
PuKOBsSk j3Am WUpgrade naar KadastraleKaart Pro
yUFKprcV5lvZDgQQGNYUpgrade naar KadastraleKaart Pro
wPG NDqF8vxt Upgrade naar KadastraleKaart Pro
wMd3NKmYJbn7 RZqUpgrade naar KadastraleKaart Pro
w08VLq4Y 7z4GGrjZ7RArUpgrade naar KadastraleKaart Pro
DDr k5WNKYze3i5qLQUpgrade naar KadastraleKaart Pro
dg7JDU7muteUpgrade naar KadastraleKaart Pro
lXioV aJxmTB SlXNX KeUpgrade naar KadastraleKaart Pro
F n H8H LtbGT60OQUpgrade naar KadastraleKaart Pro
pbmz2UaWe9KYiri0MUpgrade naar KadastraleKaart Pro
31/01/2007

Percelen
Gebruik de zoekbalk of klik op een perceel om informatie over het perceel te bekijken.