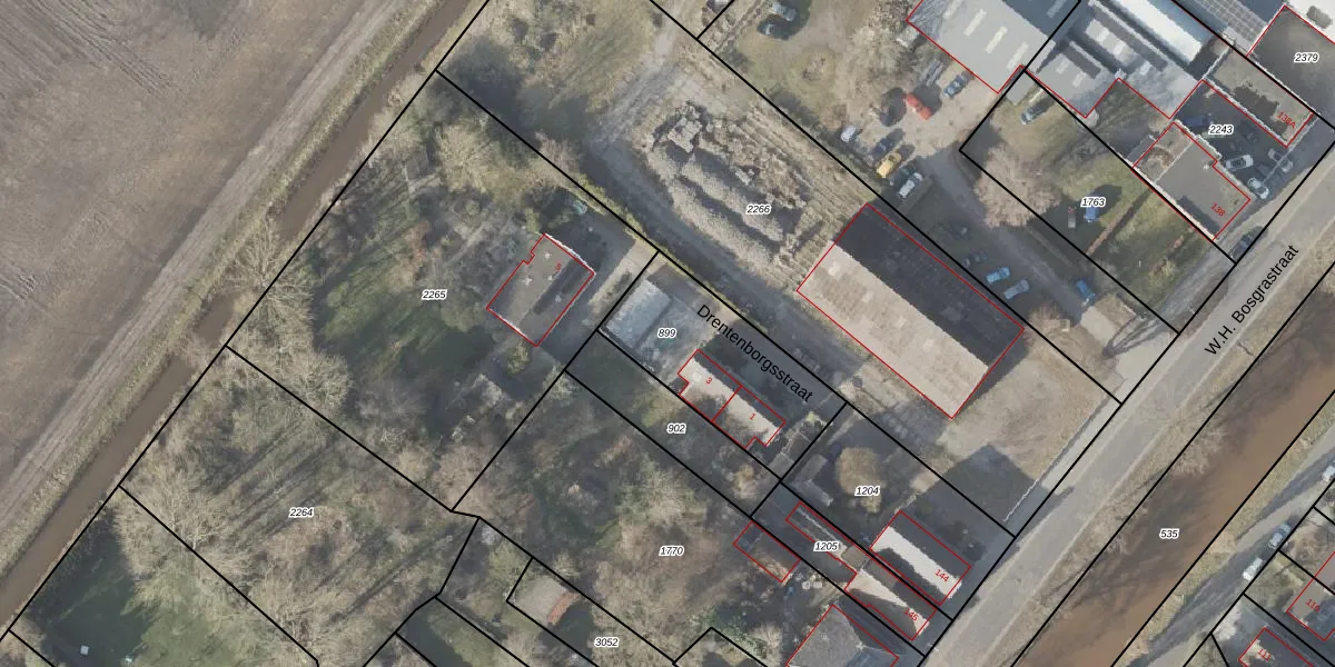
Perceel: PKL02-D-899
KadastraleKaart.com kan meer dan je denktOntdek meer ›
Filter op bestemming 50+ datasets Eigendomsdata in één klik Percelen CRM
550 m2 - 102 m
Eigenaar opvragen
PKL02-D-899 (Oude Pekela)
- 9665 PV
9Ww2t ScQkeqTXvv5jv5PcUpgrade naar KadastraleKaart Pro
Bekijk op Street View
Download DWG/DXF/Excel
9qN ABBpKkz mqIPUpgrade naar KadastraleKaart Pro
rMQQwY w xiiaOYXOybvUpgrade naar KadastraleKaart Pro
4 lYWXil sV3F4 42QP Upgrade naar KadastraleKaart Pro
ACgBcz es2wfDnr3YblZUpgrade naar KadastraleKaart Pro
QmIsrlie t3 5Z OQhUpgrade naar KadastraleKaart Pro
7rfu8LU Upgrade naar KadastraleKaart Pro
DRQZafvgeUpgrade naar KadastraleKaart Pro
LnPpWtzJrb3d4 IlrG FUpgrade naar KadastraleKaart Pro
kVtd L K GUUpgrade naar KadastraleKaart Pro
V544mvPSSg jh xUpgrade naar KadastraleKaart Pro
05/12/2002

Percelen
Gebruik de zoekbalk of klik op een perceel om informatie over het perceel te bekijken.