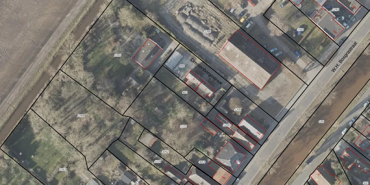
Perceel: PKL02-D-902
KadastraleKaart.com kan meer dan je denktOntdek meer ›
Filter op bestemming 50+ datasets Eigendomsdata in één klik Percelen CRM
Geen adressen bij dit perceel
270 m2 - 86 m
Eigenaar opvragen
PKL02-D-902 (Oude Pekela)
- Geen postcode aanwezig
Xg9WGKsl Y22U1ybLEcyo4jdHUpgrade naar KadastraleKaart Pro
Bekijk op Street View
Download DWG/DXF/Excel
KVUnIukbSMpKVPW5UUpgrade naar KadastraleKaart Pro
IG8eX4QkrIUpgrade naar KadastraleKaart Pro
HLiRSd6g guT2fwbQ5LnosSUpgrade naar KadastraleKaart Pro
U9ft29TbcmLcEyxZUpgrade naar KadastraleKaart Pro
ybmtdGPVQLUpgrade naar KadastraleKaart Pro
7MW4JMy FAeLOUpgrade naar KadastraleKaart Pro
vceHr1ofEqmX k3ZbVUpgrade naar KadastraleKaart Pro
R5xHQbjayst4E aUpgrade naar KadastraleKaart Pro
Do0byx8FjCPrP0SY8Ow3Upgrade naar KadastraleKaart Pro
sQfeWLby8Q QUpgrade naar KadastraleKaart Pro
14/11/1997

Percelen
Gebruik de zoekbalk of klik op een perceel om informatie over het perceel te bekijken.