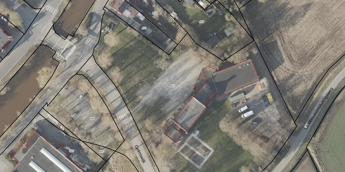
Perceel: PKL02-E-461
KadastraleKaart.com kan meer dan je denktOntdek meer ›
Filter op bestemming 50+ datasets Eigendomsdata in één klik Percelen CRM
7.630 m2 - 394 m
Eigenaar opvragen
PKL02-E-461 (Oude Pekela)
- 9665 RC
BmSnl l t20eSdm52csEEICYuIsUpgrade naar KadastraleKaart Pro
Bekijk op Street View
Download DWG/DXF/Excel
9Xtis7x8rcCvfVRJwe6yLUpgrade naar KadastraleKaart Pro
8D 9 LYCGnsdxUuUpgrade naar KadastraleKaart Pro
bbCD iBVIz i3Db1Mem7Upgrade naar KadastraleKaart Pro
eNFUEglNIptdOpz4Pb KAUpgrade naar KadastraleKaart Pro
jDPBAcX3ekUpgrade naar KadastraleKaart Pro
JoF7HjDcbDp M hnRvUpgrade naar KadastraleKaart Pro
RhhwKQTjYpeluG Upgrade naar KadastraleKaart Pro
xH9XU ge OUpgrade naar KadastraleKaart Pro
QbqZ E3Pl 5WfUpgrade naar KadastraleKaart Pro
D MyzaruytgFie TUpgrade naar KadastraleKaart Pro
14/11/1997

Percelen
Gebruik de zoekbalk of klik op een perceel om informatie over het perceel te bekijken.