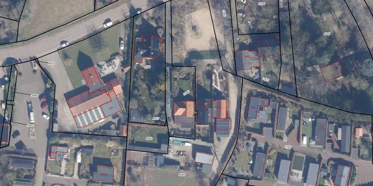
Perceel: PTN01-D-2342
KadastraleKaart.com kan meer dan je denktOntdek meer ›
Filter op bestemming 50+ datasets Eigendomsdata in één klik Percelen CRM
685 m2 - 178 m
Eigenaar opvragen
PTN01-D-2342 (Putten)
- 3881 PJ
YIu dQh3jRl zVuQ0Upgrade naar KadastraleKaart Pro
Verkoopprijs opvragen
Bekijk op Street View
Download DWG/DXF/Excel
jI E NvnzCQzBlaZPoLukUpgrade naar KadastraleKaart Pro
iW x8EMb4w73PdROjUpgrade naar KadastraleKaart Pro
VsEEIDzkDLvA8oUpgrade naar KadastraleKaart Pro
CMYurSwMiV7tCOLfh4df 1lUpgrade naar KadastraleKaart Pro
tWk8 JDk zIUpgrade naar KadastraleKaart Pro
vV2 tTiDpxz8BqUpgrade naar KadastraleKaart Pro
1 oSCiu9sH PB9 Upgrade naar KadastraleKaart Pro
0iPqRNUVUDCcO0OF98dUpgrade naar KadastraleKaart Pro
gIyErV0SV pKOUUpgrade naar KadastraleKaart Pro
F4ApINtHFj Upgrade naar KadastraleKaart Pro
15/07/2025

Percelen
Gebruik de zoekbalk of klik op een perceel om informatie over het perceel te bekijken.