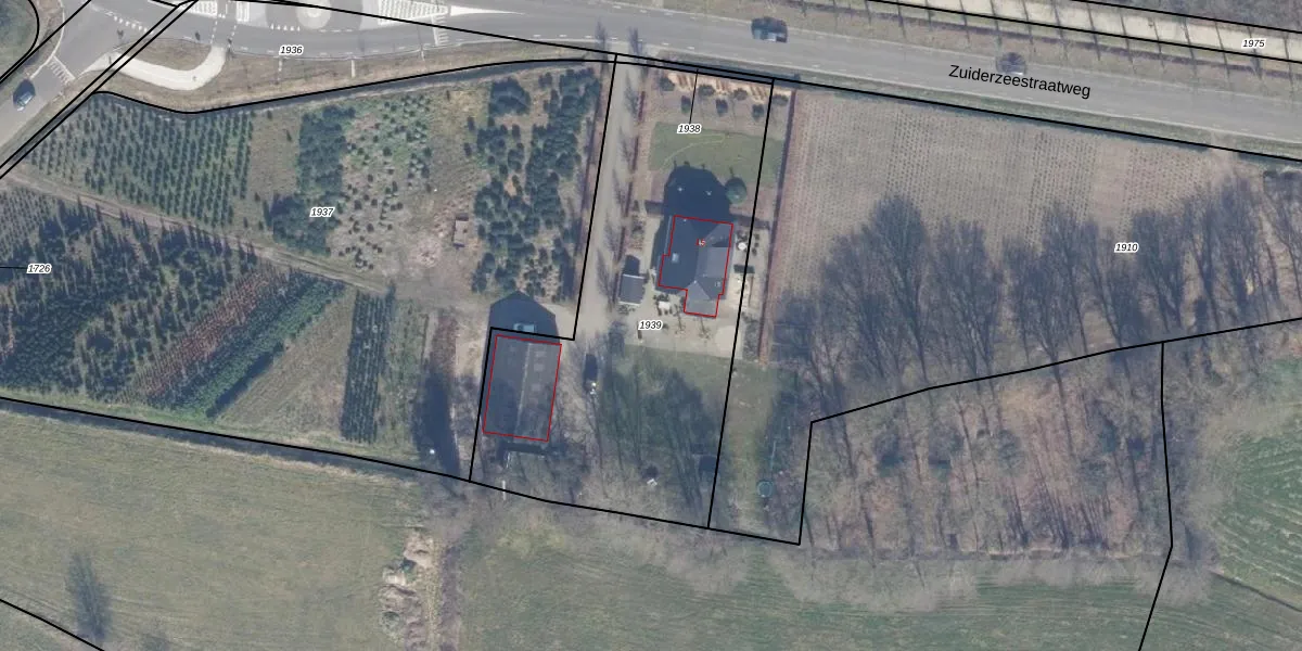
Perceel: PTN01-L-1939
KadastraleKaart.com kan meer dan je denktOntdek meer ›
Filter op bestemming 50+ datasets Eigendomsdata in één klik Percelen CRM
1.996 m2 - 211 m
Eigenaar opvragen
PTN01-L-1939 (Putten)
- 3882 NC
hI7r8w6liFUD c8eDVxNoU0w GxUpgrade naar KadastraleKaart Pro
Verkoopprijs opvragen
Bekijk op Street View
Download DWG/DXF/Excel
p6peokS52RCQH6MYXUpgrade naar KadastraleKaart Pro
d82piROiUpgrade naar KadastraleKaart Pro
2AHW5M12Upgrade naar KadastraleKaart Pro
JP9 t COgZQvcLCmUpgrade naar KadastraleKaart Pro
L8voR6ux8SG800QKg7 CUpgrade naar KadastraleKaart Pro
4PDbGoXEF SUpgrade naar KadastraleKaart Pro
OCztnH7U XGRTaFzkCKUpgrade naar KadastraleKaart Pro
3SD7Y OeAndj9Upgrade naar KadastraleKaart Pro
mgH6C3CHgdkUpgrade naar KadastraleKaart Pro
vS8O2LHTV7txeaC2jj jOBTUpgrade naar KadastraleKaart Pro
13/02/2019

Percelen
Gebruik de zoekbalk of klik op een perceel om informatie over het perceel te bekijken.