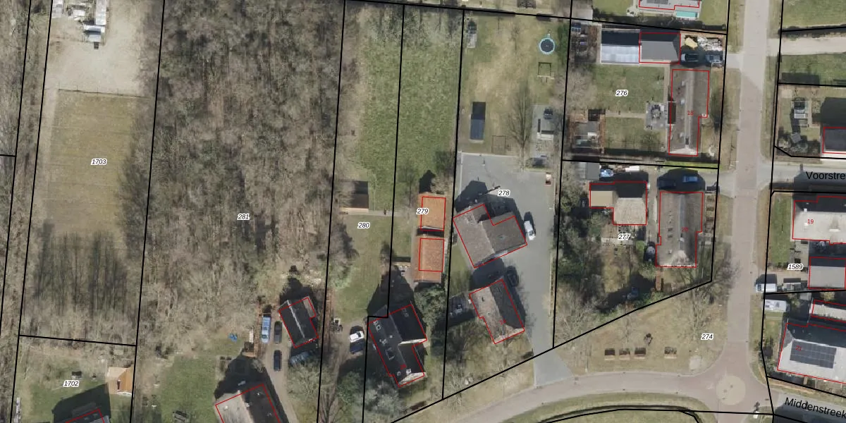
Perceel: RDE00-T-279
KadastraleKaart.com kan meer dan je denktOntdek meer ›
Filter op bestemming 50+ datasets Eigendomsdata in één klik Percelen CRM
1.500 m2 - 235 m
Eigenaar opvragen
RDE00-T-279 (Rolde)
- 9444 PD
2gB5qEVz s4vLCIwgBuR8SMbbbDS aUpgrade naar KadastraleKaart Pro
Verkoopprijs opvragen
Bekijk op Street View
Download DWG/DXF/Excel
F v J0g I9OsAD M7P2Upgrade naar KadastraleKaart Pro
vSl tjLwSdw8XlXUpgrade naar KadastraleKaart Pro
p45JqpV0Opvew3hyNkyUpgrade naar KadastraleKaart Pro
zztjC0lKqIqxZsUpgrade naar KadastraleKaart Pro
GLSowByA6 ctRYzqyx7eQ7Upgrade naar KadastraleKaart Pro
sCZkV thZInWmUpgrade naar KadastraleKaart Pro
gMnu H5 tKcv N0XSreyd5Upgrade naar KadastraleKaart Pro
KkwggvWmUUpgrade naar KadastraleKaart Pro
BzF5h7XPUpgrade naar KadastraleKaart Pro
C JXdKUpgrade naar KadastraleKaart Pro
18/09/2000

Percelen
Gebruik de zoekbalk of klik op een perceel om informatie over het perceel te bekijken.