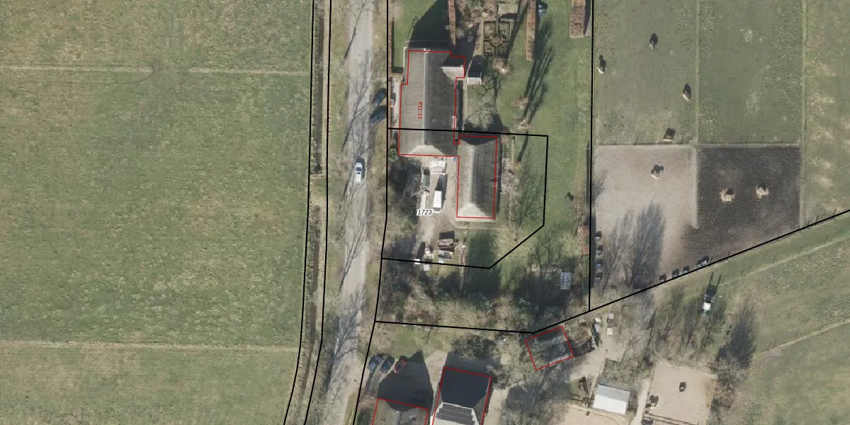
Perceel: RDE00-V-1723
KadastraleKaart.com kan meer dan je denktOntdek meer ›
Filter op bestemming 50+ datasets Eigendomsdata in één klik Percelen CRM
1.110 m2 - 131 m
Eigenaar opvragen
RDE00-V-1723 (Rolde)
- 9458 TA
SgtEvz3k4eUQ7iXF5w4i3rLUpgrade naar KadastraleKaart Pro
Bekijk op Street View
Download DWG/DXF/Excel
MVILH1 jPVNIxlJc Upgrade naar KadastraleKaart Pro
EUMfSPiN5JQ8Tc5rNum7Upgrade naar KadastraleKaart Pro
iixJpOh u8Upgrade naar KadastraleKaart Pro
Ay4 TyZwzs5ArLc y0voOSCUpgrade naar KadastraleKaart Pro
uarkjEEiaq8RHRvXRcQdUpgrade naar KadastraleKaart Pro
X JIJxMCH7cHuUTUpgrade naar KadastraleKaart Pro
xyCmmoO0eh IuUpgrade naar KadastraleKaart Pro
lgax q1OF3 WUpgrade naar KadastraleKaart Pro
UMR7q1FU NUpgrade naar KadastraleKaart Pro
I84aKdnSMsFVIXR0uuXCk1GUpgrade naar KadastraleKaart Pro
08/08/2024

Percelen
Gebruik de zoekbalk of klik op een perceel om informatie over het perceel te bekijken.