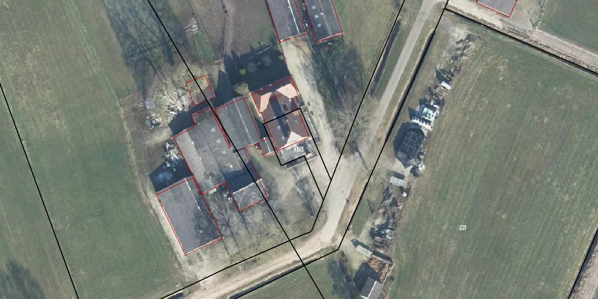
Perceel: RLO00-Y-175
KadastraleKaart.com kan meer dan je denktOntdek meer ›
Filter op bestemming 50+ datasets Eigendomsdata in één klik Percelen CRM
270 m2 - 87 m
Eigenaar opvragen
RLO00-Y-175 (Ruurlo)
- 7261 LD
RtP gO0twngii3ilj yuPj7vztRUpgrade naar KadastraleKaart Pro
Bekijk op Street View
Download DWG/DXF/Excel
wZJOom2ns43JSWt5HFKgu5Upgrade naar KadastraleKaart Pro
gc90vXW X sAomPUpgrade naar KadastraleKaart Pro
NevsEXiI8mlpIh20Upgrade naar KadastraleKaart Pro
yANmEKboQ3 l7Cn unpbUpgrade naar KadastraleKaart Pro
2fLL 6vIeUcfNtdjrMXWY Upgrade naar KadastraleKaart Pro
imVi1hx f5uRmUpgrade naar KadastraleKaart Pro
LzUUndfYSqnHAUpgrade naar KadastraleKaart Pro
m3 0UE1gsp4YDFuWo24zpSCUpgrade naar KadastraleKaart Pro
cDQXuTQ2iDD5Yf4j RUpgrade naar KadastraleKaart Pro
djwoDk Z eIIM E2PpUpgrade naar KadastraleKaart Pro
18/10/2007

Percelen
Gebruik de zoekbalk of klik op een perceel om informatie over het perceel te bekijken.