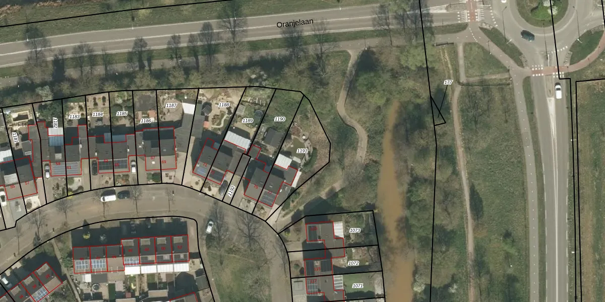
Perceel: RMD00-H-1191
450 m2 - 102 m
Eigenaar opvragen
RMD00-H-1191 (Roermond)
- 6043 KJ
v9H hvaFP 6YIQL qV VJ8PZUpgrade naar KadastraleKaart Pro
Bekijk op Street View
Download DWG/DXF/Excel
aOQrYpx5XID4rKwOfj3EQvEUpgrade naar KadastraleKaart Pro
7 GaMPsMdPGbWaUpgrade naar KadastraleKaart Pro
FgjdB76eNpIhyLeL9YG8D1Upgrade naar KadastraleKaart Pro
rjgd9iru1i5slhateRBmZFhUpgrade naar KadastraleKaart Pro
vJfpccgE65H OldUpgrade naar KadastraleKaart Pro
E0YooZbCpBkDfUfWecM5 Upgrade naar KadastraleKaart Pro
xM8GDo QlhKEcD3x Upgrade naar KadastraleKaart Pro
Of9J cCIsPkvQGUpgrade naar KadastraleKaart Pro
9Uq1Zd0DbUg9fAts9BIUpgrade naar KadastraleKaart Pro
iBc81HFHA9abUpgrade naar KadastraleKaart Pro
31/05/2010

Percelen
Gebruik de zoekbalk of klik op een perceel om informatie over het perceel te bekijken.