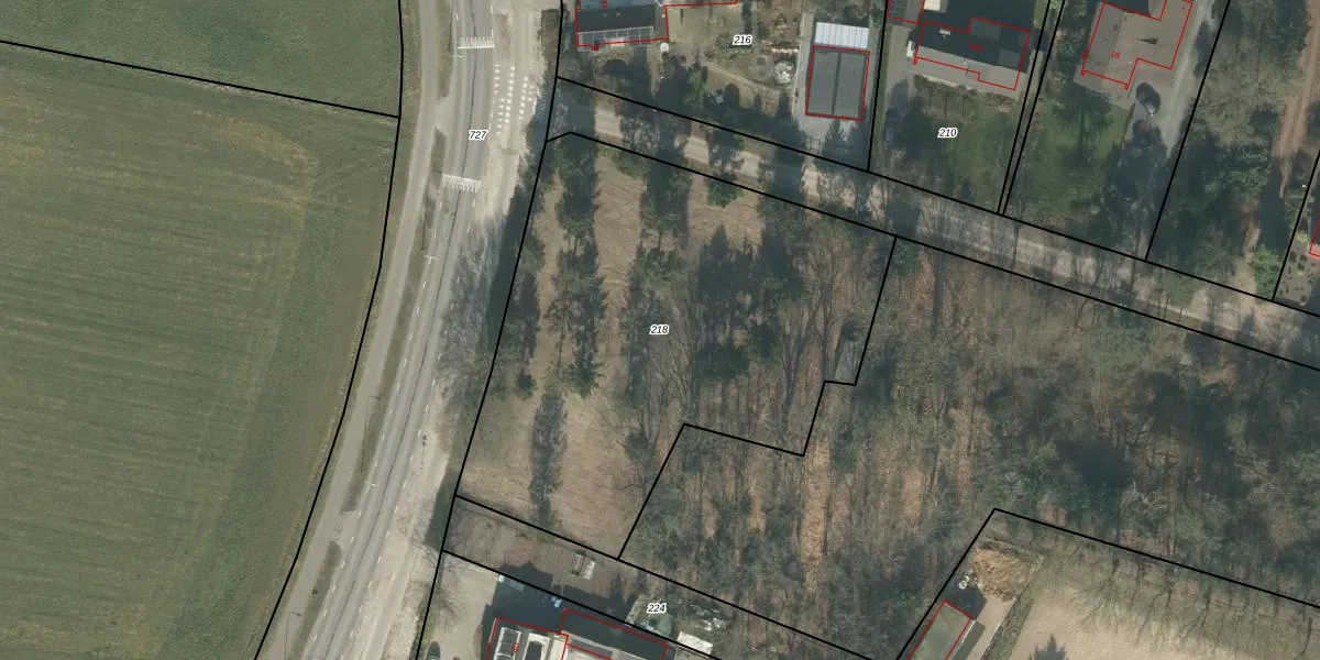
Perceel: RPN00-N-218

Adres bij perceel

Geen adressen bij dit perceel

Perceeloppervlakte & perceelomtrek

2.590 m2 - 219 m

Eigenaar van het perceel

Eigenaar opvragen

Kadastrale aanduiding

RPN00-N-218 (Rucphen)

Postcode in perceel

    Geen postcode aanwezig

Type eigenaar

0pyIxZJ1eCUR FcEvSNLoa8f KUpgrade naar KadastraleKaart Pro

Google Street View

Bekijk op Street View

Download

Download DWG/DXF/Excel

Gerelateerde percelen

4FQLniHWOUpgrade naar KadastraleKaart Pro

Bebouwd/onbebouwd/water/groen

V7A5 vgh oZ7uVUpgrade naar KadastraleKaart Pro
Administratieve eenheden
YwMN79d5Ti CrEwBQUkasytUpgrade naar KadastraleKaart Pro

Appartementsrechten

U37hOmQohDaiUpgrade naar KadastraleKaart Pro

Vergunningverlenende instanties

SJj3r2hnb1zjRRGUpgrade naar KadastraleKaart Pro

Bedekking (BGT)

33j1thVRh YiZgUpgrade naar KadastraleKaart Pro

Publiekrechtelijke beperkingen

kyB9qftarUpgrade naar KadastraleKaart Pro

Grensnauwkeurigheid

DxzeEElzp4OkLlOTdbUpgrade naar KadastraleKaart Pro

Coördinaten hoekpunten perceel

MbC6QRBk6pANTUpgrade naar KadastraleKaart Pro

Hoogteligging

PTbdaJIB80yrEFWCI JUpgrade naar KadastraleKaart Pro

Laatst gewijzigd

07/05/2024

Kadastrale kaart met maatvoering 59,95
Kadastrale kaart pakket 28,95

Percelen

Gebruik de zoekbalk of klik op een perceel om informatie over het perceel te bekijken.
Locatie
Meten
Lagen
Download