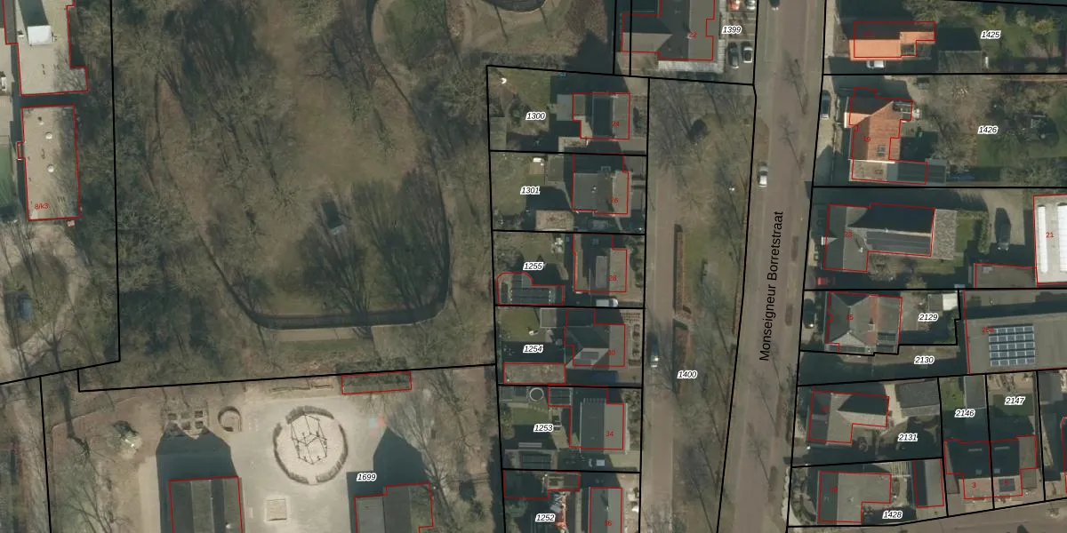
Perceel: SCH03-E-1255
KadastraleKaart.com kan meer dan je denktOntdek meer ›
Filter op bestemming 50+ datasets Eigendomsdata in één klik Percelen CRM
394 m2 - 85 m
Eigenaar opvragen
SCH03-E-1255 (Schaijk)
- 5375 AC
7yE7vJk ITfZ7JM7UPOUpgrade naar KadastraleKaart Pro
Verkoopprijs opvragen
Bekijk op Street View
Download DWG/DXF/Excel
RmbjKmo9p1kHPlJrd2CoqUpgrade naar KadastraleKaart Pro
c92QVbXSFqKSHTVD8Upgrade naar KadastraleKaart Pro
h99p4DSVLdx l1xU68twitUpgrade naar KadastraleKaart Pro
IGuLKC9ZGbb RVUUpgrade naar KadastraleKaart Pro
2dYK8 PIIvUpgrade naar KadastraleKaart Pro
zxJri NfbXghUpgrade naar KadastraleKaart Pro
95D3 YoDVoUpgrade naar KadastraleKaart Pro
WM MCJ2sE12qwVUpgrade naar KadastraleKaart Pro
x6 6xamwq Iyu2Upgrade naar KadastraleKaart Pro
8M vrCGVa7 KuzZUTUpgrade naar KadastraleKaart Pro
20/09/2006

Percelen
Gebruik de zoekbalk of klik op een perceel om informatie over het perceel te bekijken.