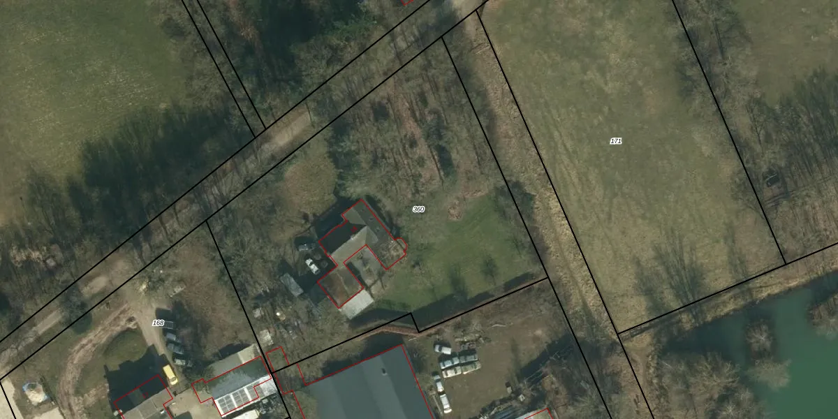
Perceel: SCH03-I-360
KadastraleKaart.com kan meer dan je denktOntdek meer ›
Filter op bestemming 50+ datasets Eigendomsdata in één klik Percelen CRM
3.635 m2 - 249 m
Eigenaar opvragen
SCH03-I-360 (Schaijk)
- 5374 RE
Ql9jKru 9Yx8hDKCovzHJyZs64QxTQ Upgrade naar KadastraleKaart Pro
Verkoopprijs opvragen
Bekijk op Street View
Download DWG/DXF/Excel
8 wamav4AgQ erA mUpgrade naar KadastraleKaart Pro
HmfeVDhSzSoQDDUpgrade naar KadastraleKaart Pro
edFG5IV9Upgrade naar KadastraleKaart Pro
a tAck MZXmhjgRBTdUpgrade naar KadastraleKaart Pro
GDJq5oBA7uuvEHyILmy4bSFUpgrade naar KadastraleKaart Pro
6eT 526 HJhzGDVUpgrade naar KadastraleKaart Pro
cqESEJ9efUUpgrade naar KadastraleKaart Pro
30I225cjDhI9mAUpgrade naar KadastraleKaart Pro
kMCeudotYFJXHdx9 9Upgrade naar KadastraleKaart Pro
265oEC9Usi oo4WYhnW1P8pUpgrade naar KadastraleKaart Pro
24/08/2005

Percelen
Gebruik de zoekbalk of klik op een perceel om informatie over het perceel te bekijken.