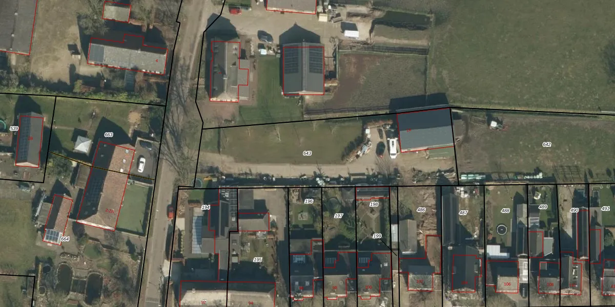
Perceel: SDL00-O-643
KadastraleKaart.com kan meer dan je denktOntdek meer ›
Filter op bestemming 50+ datasets Eigendomsdata in één klik Percelen CRM
1.860 m2 - 223 m
Eigenaar opvragen
SDL00-O-643 (Schijndel)
- 5482 VA
3XQWnVDW30m axhUwlt5RaHJ 6yw1Upgrade naar KadastraleKaart Pro
Bekijk op Street View
Download DWG/DXF/Excel
K7t4KO bkXK3tBvtdUpgrade naar KadastraleKaart Pro
JLTBD9XeZzh13FsrTXUpgrade naar KadastraleKaart Pro
YG69y jkocCZNYROpeh1 Upgrade naar KadastraleKaart Pro
PvcQGc p qwb1cUpgrade naar KadastraleKaart Pro
o3auhQI Xvr8wlgJfnsHi Upgrade naar KadastraleKaart Pro
mJtcZjipDjEgoFBSHCu0QUpgrade naar KadastraleKaart Pro
xEcS iQ k0 zUpgrade naar KadastraleKaart Pro
QaI7Rc9A5T7eUpgrade naar KadastraleKaart Pro
p x egmZFLXJQ 0o7Upgrade naar KadastraleKaart Pro
ZllxzfG wThJp3LoqRUpgrade naar KadastraleKaart Pro
01/05/2017

Percelen
Gebruik de zoekbalk of klik op een perceel om informatie over het perceel te bekijken.