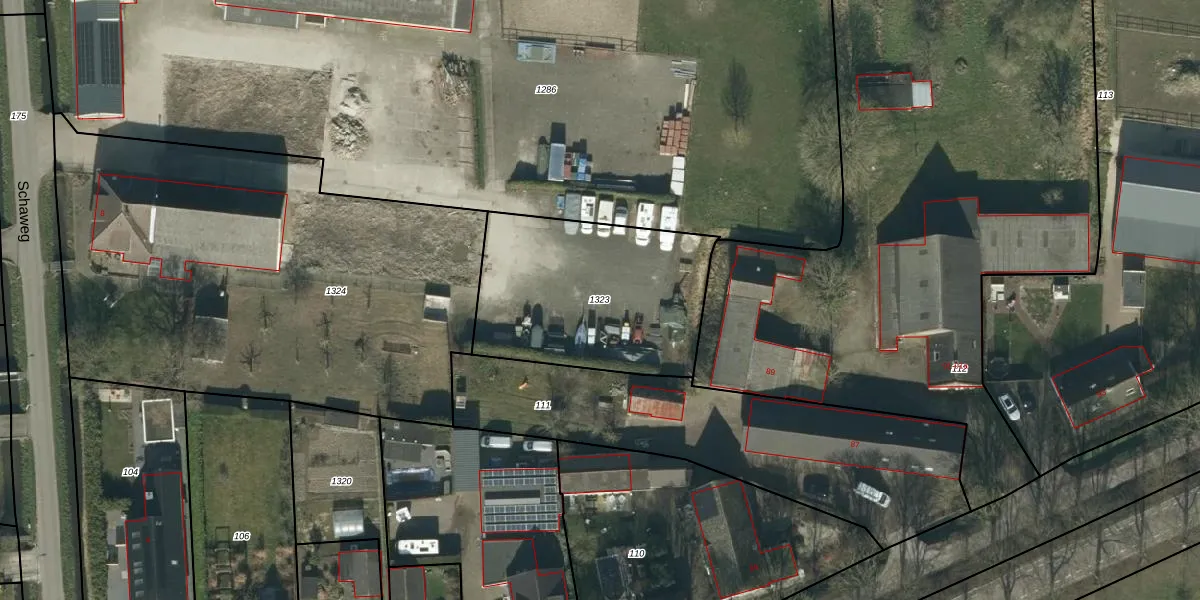
Perceel: SEN00-S-1323
Geen adressen bij dit perceel
905 m2 - 124 m
Eigenaar opvragen
SEN00-S-1323 (Strijen)
- Geen postcode aanwezig
No lfDjeKh9LyCGC c5B8Fi 8J Upgrade naar KadastraleKaart Pro
Bekijk op Street View
Download DWG/DXF/Excel
1anAZpbYIdSzbVUpgrade naar KadastraleKaart Pro
hbviytM YaMsek PmNUpgrade naar KadastraleKaart Pro
xTyT5O9iYj m22LCUUpgrade naar KadastraleKaart Pro
gqk2 0YhzxmW sUpgrade naar KadastraleKaart Pro
r smJCjYXmpLAAPUpgrade naar KadastraleKaart Pro
dFKhWDmuS0yqnwZ4xm3hUpgrade naar KadastraleKaart Pro
iwHk5Jmaftzj9NBfaUpgrade naar KadastraleKaart Pro
RVs JVGvintiK 5N 3sDUpgrade naar KadastraleKaart Pro
DFIu88HPP68TTdUpgrade naar KadastraleKaart Pro
mB06 02xPBrK4zjuUpgrade naar KadastraleKaart Pro
20/08/2025

Percelen
Gebruik de zoekbalk of klik op een perceel om informatie over het perceel te bekijken.