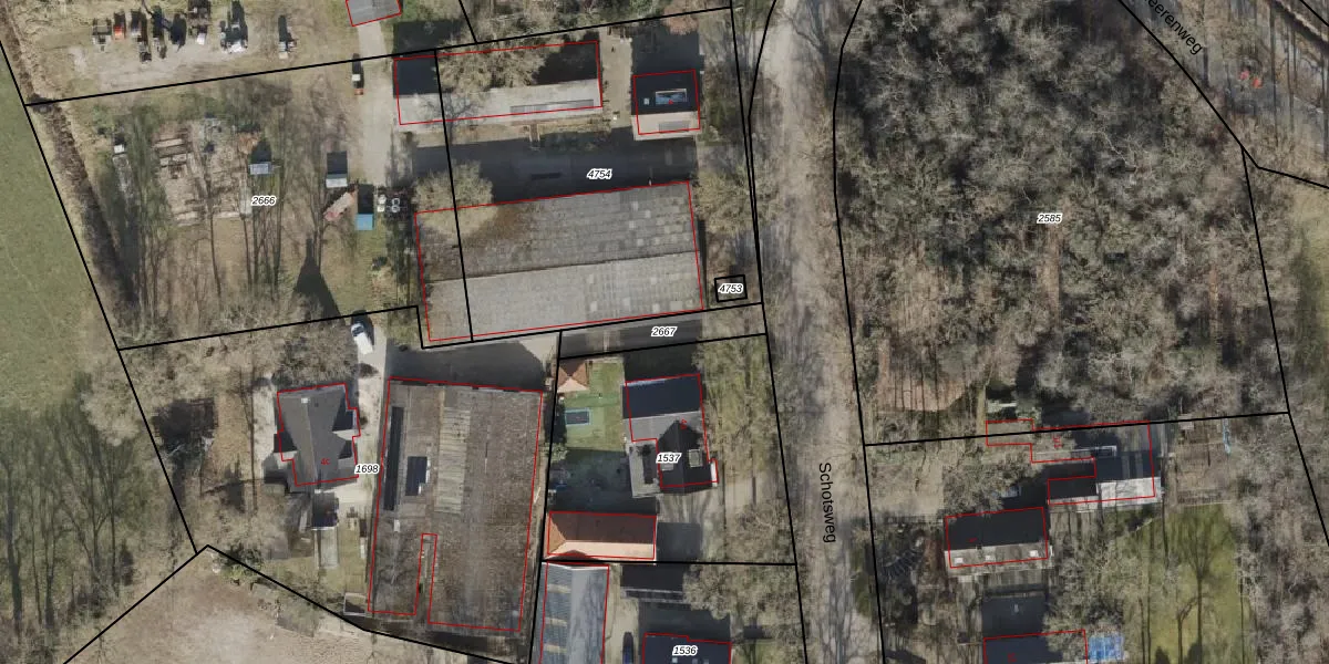
Perceel: SHT02-AR-2667
Geen adressen bij dit perceel
124 m2 - 71 m
Eigenaar opvragen
SHT02-AR-2667 (Staphorst)
- Geen postcode aanwezig
xIb4X Z1QTqM PrM3 Rm32NeEUpgrade naar KadastraleKaart Pro
Bekijk op Street View
Download DWG/DXF/Excel
Qj svqMQ7b4r2AHUpgrade naar KadastraleKaart Pro
Cg Is Qn0Upgrade naar KadastraleKaart Pro
2f2bahOLZIl zgWenf1L6Upgrade naar KadastraleKaart Pro
3yu2qXa974kByiDUeF9Upgrade naar KadastraleKaart Pro
2YdoxIV5zsRJedUpgrade naar KadastraleKaart Pro
4U7P8nYGUpgrade naar KadastraleKaart Pro
fdY gaKhEuMhUpgrade naar KadastraleKaart Pro
7nD 5qt3nwnPvsSm2dAUpgrade naar KadastraleKaart Pro
WlZ gRfwltVDuUcUpgrade naar KadastraleKaart Pro
epDnWwUyPoIjy4VUpgrade naar KadastraleKaart Pro
30/01/2021

Percelen
Gebruik de zoekbalk of klik op een perceel om informatie over het perceel te bekijken.