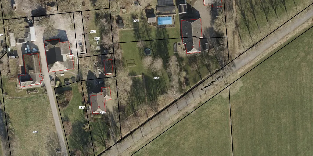
Perceel: SHT02-AR-6436
3.020 m2 - 238 m
Eigenaar opvragen
SHT02-AR-6436 (Staphorst)
- 7715 PJ
WDW5 XTTVUvL4b8N0KzUpgrade naar KadastraleKaart Pro
Bekijk op Street View
Download DWG/DXF/Excel
7u756R6aKyIgpYUpgrade naar KadastraleKaart Pro
2eslBoLvQyqbr nppUpgrade naar KadastraleKaart Pro
A7wR9gfJs1fiUuG9X1si2RYUpgrade naar KadastraleKaart Pro
BMNsg2T hUrUpgrade naar KadastraleKaart Pro
TV wd0pwQYoUpgrade naar KadastraleKaart Pro
jAKskAv3KIq4KLV nUpgrade naar KadastraleKaart Pro
wJOrBi ZUpgrade naar KadastraleKaart Pro
GBWAjJS XUNNUpgrade naar KadastraleKaart Pro
V vVkbE t5XuMZCUpgrade naar KadastraleKaart Pro
bcSMxSB6DJHpUJoF C rXTrUpgrade naar KadastraleKaart Pro
11/11/2025

Percelen
Gebruik de zoekbalk of klik op een perceel om informatie over het perceel te bekijken.