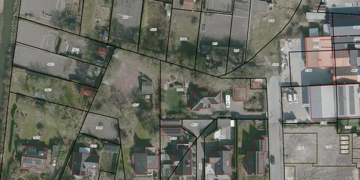
Perceel: SMD00-B-6000
KadastraleKaart.com kan meer dan je denktOntdek meer ›
Filter op bestemming 50+ datasets Eigendomsdata in één klik Percelen CRM
1.453 m2 - 178 m
Eigenaar opvragen
SMD00-B-6000 (Sommelsdijk)
- 3245 CP
1NzKPMx34wP2FNf27 2PIUpgrade naar KadastraleKaart Pro
Verkoopprijs opvragen
Bekijk op Street View
Download DWG/DXF/Excel
V96T8hrKzWank 8DbJ6TUpgrade naar KadastraleKaart Pro
AD DPixhi9yvZWvOUpgrade naar KadastraleKaart Pro
B DiAamFfxcuMwT8IUpgrade naar KadastraleKaart Pro
mr8IPnk 9 Sk cqq 6UpUpgrade naar KadastraleKaart Pro
nvnEjxhSSiJiMhKZVnSqUpgrade naar KadastraleKaart Pro
5H2ioutV4zWqA XUpgrade naar KadastraleKaart Pro
FYSq8CzT3 hGQ2TqsZ75UUpgrade naar KadastraleKaart Pro
2QgZ0p73Plzs 6TUpgrade naar KadastraleKaart Pro
9fC9tAJOxBnFGfNNJ VQjp2Upgrade naar KadastraleKaart Pro
rfKL 8EFVaX5tUpgrade naar KadastraleKaart Pro
03/01/2005

Percelen
Gebruik de zoekbalk of klik op een perceel om informatie over het perceel te bekijken.