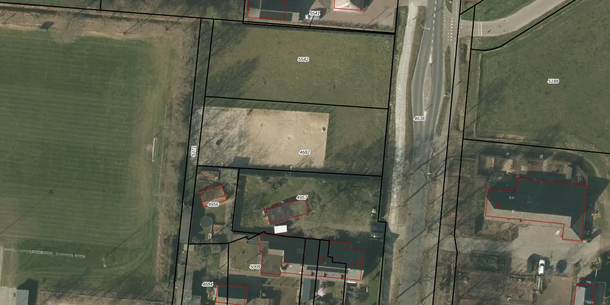
Perceel: SMR02-G-4682
Geen adressen bij dit perceel
1.400 m2 - 166 m
Eigenaar opvragen
SMR02-G-4682 (Someren)
- Geen postcode aanwezig
ROz 24UYNJYEHJSiK7SDLU e9Upgrade naar KadastraleKaart Pro
Bekijk op Street View
Download DWG/DXF/Excel
1X3gFKVDzG UKFF0nAM Upgrade naar KadastraleKaart Pro
nExbPMz1Upgrade naar KadastraleKaart Pro
2xDF y O37Pu37vNFYDUpgrade naar KadastraleKaart Pro
JPTRCEMFd 9C41oUpgrade naar KadastraleKaart Pro
wt7C3OlpglbS91hpVhUpgrade naar KadastraleKaart Pro
Pxw37 GkrYsxsUpgrade naar KadastraleKaart Pro
ZFk6uwMuNCS4 a KLrAS1Upgrade naar KadastraleKaart Pro
csuFBXvel Upgrade naar KadastraleKaart Pro
ioiI8ni P5mX a0Upgrade naar KadastraleKaart Pro
O x 1qXA Upgrade naar KadastraleKaart Pro
13/12/2007

Percelen
Gebruik de zoekbalk of klik op een perceel om informatie over het perceel te bekijken.