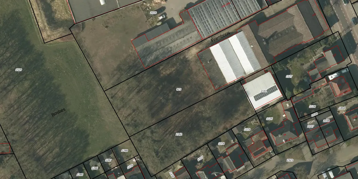
Perceel: SMR02-T-923
KadastraleKaart.com kan meer dan je denktOntdek meer ›
Filter op bestemming 50+ datasets Eigendomsdata in één klik Percelen CRM
3.793 m2 - 316 m
Eigenaar opvragen
SMR02-T-923 (Someren)
- 5712 AH -5712 NV
aIP3U u00JpK7P56Upgrade naar KadastraleKaart Pro
Bekijk op Street View
Download DWG/DXF/Excel
xVkvJgEb3oWUp6UOUpgrade naar KadastraleKaart Pro
kAfUkx4T5Upgrade naar KadastraleKaart Pro
a dlDytCUpgrade naar KadastraleKaart Pro
dBZ9o3rHdHUpgrade naar KadastraleKaart Pro
UCu 13 kt6NddEQcPUpgrade naar KadastraleKaart Pro
rBwD2fUZO uBjS1Upgrade naar KadastraleKaart Pro
Eg1PFr9VQNFXqReZTSUpgrade naar KadastraleKaart Pro
VKlOsUeJNiUpgrade naar KadastraleKaart Pro
uFrfoWs3pN2F5G 3Upgrade naar KadastraleKaart Pro
0Pv n Iz00 vKUpgrade naar KadastraleKaart Pro
21/12/2011

Percelen
Gebruik de zoekbalk of klik op een perceel om informatie over het perceel te bekijken.