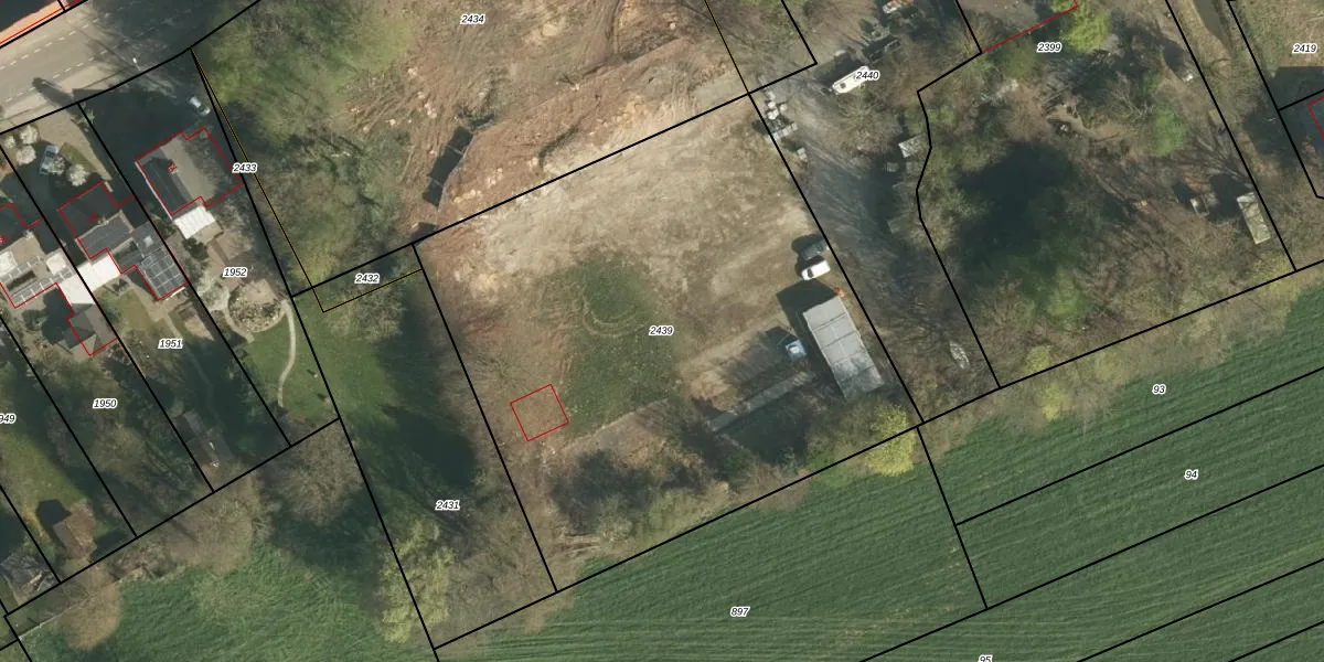
Perceel: SMT00-B-2439
KadastraleKaart.com kan meer dan je denktOntdek meer ›
Filter op bestemming 50+ datasets Eigendomsdata in één klik Percelen CRM
3.331 m2 - 230 m
Eigenaar opvragen
SMT00-B-2439 (Schimmert)
- 6333 BZ
KVx 0PdDe4PGBCWHLFfoJ A8SbaUpgrade naar KadastraleKaart Pro
Bekijk op Street View
Download DWG/DXF/Excel
0yuy0bsTqanUpgrade naar KadastraleKaart Pro
HZS A0LVVhnF05y6kMaUpgrade naar KadastraleKaart Pro
yJLXm0z 8 gkDyMaUpgrade naar KadastraleKaart Pro
Oneot dmC9rcB 31r Kra Upgrade naar KadastraleKaart Pro
KKqda2TXpv4StBgqk7t6JUpgrade naar KadastraleKaart Pro
AzNc sonllUpgrade naar KadastraleKaart Pro
oWtyhI3fpoVt4Upgrade naar KadastraleKaart Pro
wnuE6wYyzzfKM0oWUpgrade naar KadastraleKaart Pro
PH5HnyMWtkHaXdtQUpgrade naar KadastraleKaart Pro
cm eNxTGC jP tKihe NUpgrade naar KadastraleKaart Pro
13/08/2025

Percelen
Gebruik de zoekbalk of klik op een perceel om informatie over het perceel te bekijken.