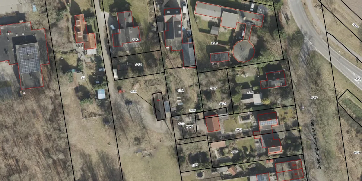
Perceel: SNB00-C-6196
Geen adressen bij dit perceel
457 m2 - 88 m
Eigenaar opvragen
SNB00-C-6196 (Schoonebeek)
- Geen postcode aanwezig
pKwxL7AKslW2b emlk O6IUpgrade naar KadastraleKaart Pro
Bekijk op Street View
Download DWG/DXF/Excel
R19KGQq 0hOBcGD8nUpgrade naar KadastraleKaart Pro
4WEOt8OPNN WArSvUpgrade naar KadastraleKaart Pro
4K36c a840G2Upgrade naar KadastraleKaart Pro
t9LsIFJGUpgrade naar KadastraleKaart Pro
mjV74h1zhtfaem2dpmJ6Upgrade naar KadastraleKaart Pro
Lp1lIN SU6ZNkDMSFQ3Upgrade naar KadastraleKaart Pro
iOsG Noa3rR9WMUpgrade naar KadastraleKaart Pro
Xuw0qn82 gAe2IcmMG994Upgrade naar KadastraleKaart Pro
Olho dlGOZeOn3YUpgrade naar KadastraleKaart Pro
zLPChQDzQnH Upgrade naar KadastraleKaart Pro
22/10/2019

Percelen
Gebruik de zoekbalk of klik op een perceel om informatie over het perceel te bekijken.