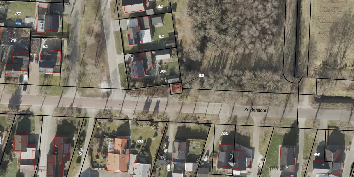
Perceel: SNB00-E-322
KadastraleKaart.com kan meer dan je denktOntdek meer ›
Filter op bestemming 50+ datasets Eigendomsdata in één klik Percelen CRM
42 m2 - 26 m
Eigenaar opvragen
SNB00-E-322 (Schoonebeek)
- Geen postcode aanwezig
NsRsqgGWHFkaWhKeiXpHSekUpgrade naar KadastraleKaart Pro
Bekijk op Street View
Download DWG/DXF/Excel
oZ1x lwqziEehUpgrade naar KadastraleKaart Pro
xRNmehdJDAjOYwdn7HUpgrade naar KadastraleKaart Pro
iOTG6 LI dqiOOTLc5A2Upgrade naar KadastraleKaart Pro
2HpydoZNqbUpgrade naar KadastraleKaart Pro
uhXTp0267Upgrade naar KadastraleKaart Pro
lg 9x0cz6TBb9EYUpgrade naar KadastraleKaart Pro
jkyf5vn eBuzRZUpgrade naar KadastraleKaart Pro
k83bcSIKUpgrade naar KadastraleKaart Pro
MuSBO25zIB 80Eg 8Nw5FlUpgrade naar KadastraleKaart Pro
tJzXq1GVyaUpgrade naar KadastraleKaart Pro
23/12/1999

Percelen
Gebruik de zoekbalk of klik op een perceel om informatie over het perceel te bekijken.