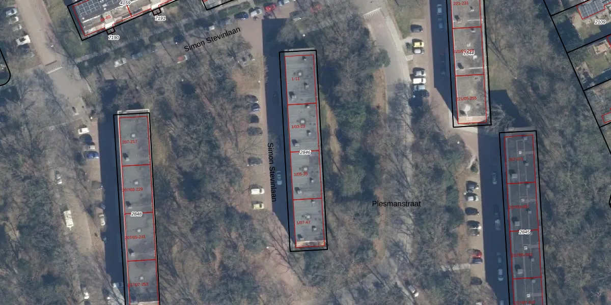
Perceel: SOE00-E-2846
KadastraleKaart.com kan meer dan je denktOntdek meer ›
Filter op bestemming 50+ datasets Eigendomsdata in één klik Percelen CRM
735 m2 - 155 m
Eigenaar opvragen
SOE00-E-2846 (Soest)
- 3769 VE
iTXes2CulEq DcyHAUpgrade naar KadastraleKaart Pro
Verkoopprijs opvragen
Bekijk op Street View
Download DWG/DXF/Excel
gmkfvdv gdgyORSWsIS8qwUpgrade naar KadastraleKaart Pro
12RmqflPb mrJg2Upgrade naar KadastraleKaart Pro
tp5A O57CtK 5e Upgrade naar KadastraleKaart Pro
bmi8klYzDPXLahcZ KKYUpgrade naar KadastraleKaart Pro
hv2jswb0YjX UztIkcx7HUpgrade naar KadastraleKaart Pro
317ucg2OmUpgrade naar KadastraleKaart Pro
vl3tih0nnNUpgrade naar KadastraleKaart Pro
4gGuSk 89HDLC9JBqt42NIUpgrade naar KadastraleKaart Pro
SE9jsBl98ZNlo59o1T9Upgrade naar KadastraleKaart Pro
8n9YeHa az d0 Mv uUpgrade naar KadastraleKaart Pro
27/06/2008

Percelen
Gebruik de zoekbalk of klik op een perceel om informatie over het perceel te bekijken.