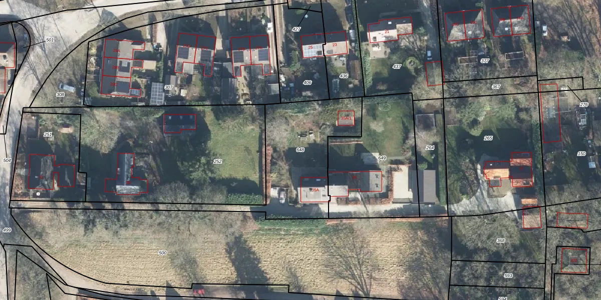
Perceel: SRN00-T-648
KadastraleKaart.com kan meer dan je denktOntdek meer ›
Filter op bestemming 50+ datasets Eigendomsdata in één klik Percelen CRM
1.173 m2 - 316 m
Eigenaar opvragen
SRN00-T-648 (Hoog Soeren)
- 7346 AC
f4ZTs3unwOfLQ4X819UM S0jOdwki Upgrade naar KadastraleKaart Pro
Verkoopprijs opvragen
Bekijk op Street View
Download DWG/DXF/Excel
OGz PUW8YSTUpgrade naar KadastraleKaart Pro
vPCOk4pOUpgrade naar KadastraleKaart Pro
TivERqMk3CUB8FmHSKUpgrade naar KadastraleKaart Pro
11OPa8sWs2y4kDB0 bXUpgrade naar KadastraleKaart Pro
r0XHUCA6Eqv ore 0Upgrade naar KadastraleKaart Pro
oBoXI2nHhhUpgrade naar KadastraleKaart Pro
aP5gT1 90o3X6k8PUpgrade naar KadastraleKaart Pro
UYaT2 40bTyKxUpgrade naar KadastraleKaart Pro
u9u6d1TByUpgrade naar KadastraleKaart Pro
3J8iOsTze8UKfV2Upgrade naar KadastraleKaart Pro
10/02/2020

Percelen
Gebruik de zoekbalk of klik op een perceel om informatie over het perceel te bekijken.