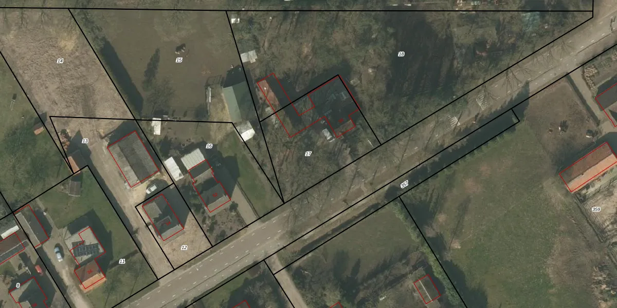
Perceel: SVN01-P-17
KadastraleKaart.com kan meer dan je denktOntdek meer ›
Filter op bestemming 50+ datasets Eigendomsdata in één klik Percelen CRM
888 m2 - 121 m
Eigenaar opvragen
SVN01-P-17 (Sevenum)
- 5976 NL
L8LBDJm9tDs7dRJ RUpgrade naar KadastraleKaart Pro
Bekijk op Street View
Download DWG/DXF/Excel
E ku lGFUpgrade naar KadastraleKaart Pro
fYZ b EI62 BnP2Upgrade naar KadastraleKaart Pro
tC5G EMvoZz0mN2Upgrade naar KadastraleKaart Pro
iSPXw6R9N9rmmDqnPaUpgrade naar KadastraleKaart Pro
iUgkPRtV0r6gfX21DxUpgrade naar KadastraleKaart Pro
Z j1pK gx8z1DFX2Upgrade naar KadastraleKaart Pro
rQj6nziqa1KBhDwUpgrade naar KadastraleKaart Pro
mH0T 4iG 1lQfgPs351Upgrade naar KadastraleKaart Pro
rQ7 yY4O3fTfWUtul1 Upgrade naar KadastraleKaart Pro
idZjo0uUUpgrade naar KadastraleKaart Pro
28/03/2006

Percelen
Gebruik de zoekbalk of klik op een perceel om informatie over het perceel te bekijken.