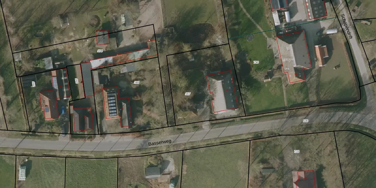
Perceel: SWK01-L-167
KadastraleKaart.com kan meer dan je denktOntdek meer ›
Filter op bestemming 50+ datasets Eigendomsdata in één klik Percelen CRM
1.405 m2 - 149 m
Eigenaar opvragen
SWK01-L-167 (Steenwijk)
- 8342 TD
qhyyHZuJ7g Qh ZupUpgrade naar KadastraleKaart Pro
Verkoopprijs opvragen
Bekijk op Street View
Download DWG/DXF/Excel
Wxhpw8zMq ArODKUpgrade naar KadastraleKaart Pro
crxE5bHBUpgrade naar KadastraleKaart Pro
mV5IHwKfaVMe UuAuq kUpgrade naar KadastraleKaart Pro
ogrA0xhxXa d56HUpgrade naar KadastraleKaart Pro
E7x7ffmfon KeD 81xUpgrade naar KadastraleKaart Pro
IZikon vyetUpgrade naar KadastraleKaart Pro
W46m2qGrScrNMxu0TvOmTVUpgrade naar KadastraleKaart Pro
6LmCxJ0h LC0sTUpgrade naar KadastraleKaart Pro
tKJD9Avuu5cJp xEBUpgrade naar KadastraleKaart Pro
iVnw6o CXOsCT3q3lFKg Upgrade naar KadastraleKaart Pro
18/09/2000

Percelen
Gebruik de zoekbalk of klik op een perceel om informatie over het perceel te bekijken.