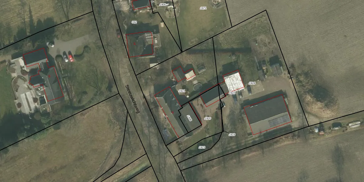
Perceel: UDN00-Q-1921
KadastraleKaart.com kan meer dan je denktOntdek meer ›
Filter op bestemming 50+ datasets Eigendomsdata in één klik Percelen CRM
1.321 m2 - 172 m
Eigenaar opvragen
UDN00-Q-1921 (Uden)
- 5406 PP
P3wMZjYX xNRqc LqfgznnUpgrade naar KadastraleKaart Pro
Verkoopprijs opvragen
Bekijk op Street View
Download DWG/DXF/Excel
8jZrYwTXUpgrade naar KadastraleKaart Pro
InwDLU0EnRTbKmBdXi9kUpgrade naar KadastraleKaart Pro
LMDapozW88Upgrade naar KadastraleKaart Pro
dCJwE5hj 1oUpgrade naar KadastraleKaart Pro
k9GKz G0hwhKN DiHEaUpgrade naar KadastraleKaart Pro
W5yPNh3o l7Upgrade naar KadastraleKaart Pro
X ezwYvIw50xAQKcEe4ZoGUpgrade naar KadastraleKaart Pro
O1VbFSh3ZSMRzmB5Sg9Upgrade naar KadastraleKaart Pro
ddTGnD7uFQm CSfHBp JUpgrade naar KadastraleKaart Pro
9AxTdmEopwJT55v37b8FUpgrade naar KadastraleKaart Pro
22/07/2021

Percelen
Gebruik de zoekbalk of klik op een perceel om informatie over het perceel te bekijken.