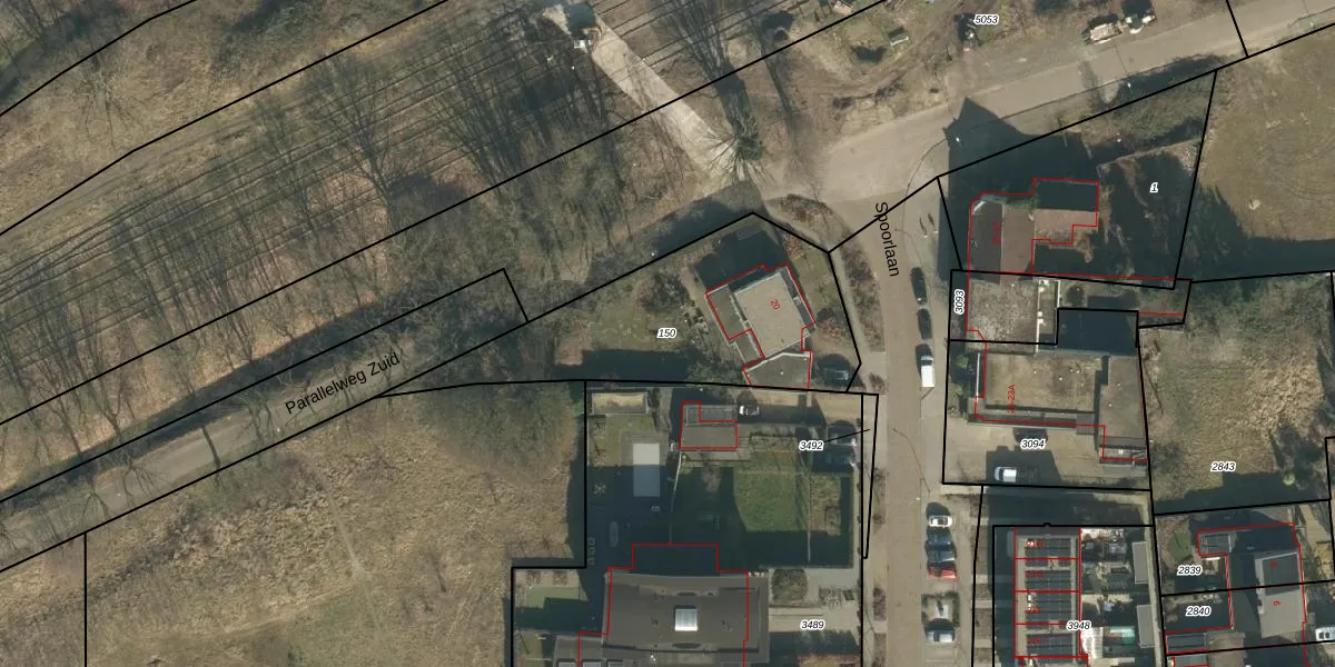
Perceel: VHL00-K-150
KadastraleKaart.com kan meer dan je denktOntdek meer ›
Filter op bestemming 50+ datasets Eigendomsdata in één klik Percelen CRM
990 m2 - 169 m
Eigenaar opvragen
VHL00-K-150 (Veghel)
- 5461 JZ
fFtz0nvMxm75HjSUpgrade naar KadastraleKaart Pro
Verkoopprijs opvragen
Bekijk op Street View
Download DWG/DXF/Excel
9 v2cVln0yfwxIqUpgrade naar KadastraleKaart Pro
6I 2vQVxUW Z8tlKDQeUpgrade naar KadastraleKaart Pro
QxN dm2SClUpgrade naar KadastraleKaart Pro
6strj4Xm5y1cNAElIKy Q7Upgrade naar KadastraleKaart Pro
HcQr6BOIng JUpgrade naar KadastraleKaart Pro
eAjBlKvLSWDpCoL4DrY SrHUpgrade naar KadastraleKaart Pro
qv M91elty ubnjYpNRxfEUpgrade naar KadastraleKaart Pro
x P3QUJ Q 7JfXdH01U Upgrade naar KadastraleKaart Pro
jDp0I4xz9zO5vG60 Upgrade naar KadastraleKaart Pro
hwewUrbAUpgrade naar KadastraleKaart Pro
02/06/2014

Percelen
Gebruik de zoekbalk of klik op een perceel om informatie over het perceel te bekijken.