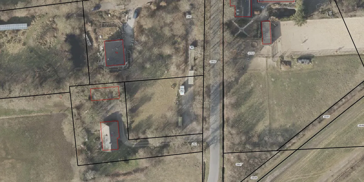
Perceel: VRI00-Y-282
KadastraleKaart.com kan meer dan je denktOntdek meer ›
Filter op bestemming 50+ datasets Eigendomsdata in één klik Percelen CRM
Geen adressen bij dit perceel
1.340 m2 - 148 m
Eigenaar opvragen
VRI00-Y-282 (Vries)
- Geen postcode aanwezig
ILWfolDPs4 ulcOrXMIUpgrade naar KadastraleKaart Pro
Bekijk op Street View
Download DWG/DXF/Excel
h6zfDrXr9AyOOBD3eOt4 KUpgrade naar KadastraleKaart Pro
7 gxcH4E ikUpgrade naar KadastraleKaart Pro
3rg9USI dUpgrade naar KadastraleKaart Pro
49wPd egiIXsadMwLQ vp Upgrade naar KadastraleKaart Pro
puqfoKgABdJR6nVgajEWNqUpgrade naar KadastraleKaart Pro
iE WB bzR5t4pvw4RKTNUpgrade naar KadastraleKaart Pro
5YJh0JB8xLDZSUbUpgrade naar KadastraleKaart Pro
BL5PDqbEVZ8F w0pvK FUpgrade naar KadastraleKaart Pro
cq4W1gs RWi 2y xbK9KrlUpgrade naar KadastraleKaart Pro
j3td 0OsTnzB8CUpgrade naar KadastraleKaart Pro
19/03/2013

Percelen
Gebruik de zoekbalk of klik op een perceel om informatie over het perceel te bekijken.