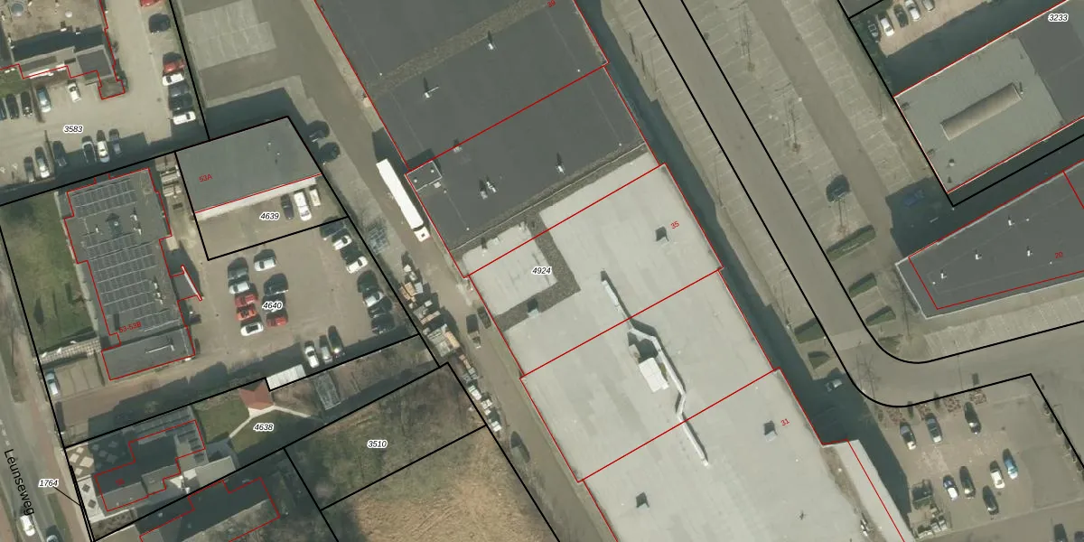
Perceel: VRY00-L-4924
12.330 m2 - 543 m
Eigenaar opvragen
VRY00-L-4924 (Venray)
- 5802 EH
NVgC3tAc4vSUvTiJQGJRR8YUpgrade naar KadastraleKaart Pro
Bekijk op Street View
Download DWG/DXF/Excel
taqFCxTW6Plve TwoAVvdAxUpgrade naar KadastraleKaart Pro
u5HbXSBM9WhO PqGUpgrade naar KadastraleKaart Pro
YDd2LBPVGeSCf 6pxsUpgrade naar KadastraleKaart Pro
A5Zm4VivWHMPyQpgX3jtUpgrade naar KadastraleKaart Pro
qrNlidq7PQpUpgrade naar KadastraleKaart Pro
Kae S 3SyV ztmUpgrade naar KadastraleKaart Pro
vJwdi056tN2c0IdH0hrh2Upgrade naar KadastraleKaart Pro
UxPbdSTX6MA WejcW vUpgrade naar KadastraleKaart Pro
Fwgexw fjI8tH7hutB7AtUpgrade naar KadastraleKaart Pro
E4nIavAf8Ytszd3 Jk SnNgUpgrade naar KadastraleKaart Pro
02/02/2023

Percelen
Gebruik de zoekbalk of klik op een perceel om informatie over het perceel te bekijken.