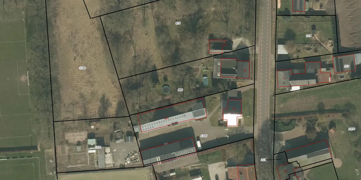
Perceel: VRY00-R-880
KadastraleKaart.com kan meer dan je denktOntdek meer ›
Filter op bestemming 50+ datasets Eigendomsdata in één klik Percelen CRM
1.530 m2 - 191 m
Eigenaar opvragen
VRY00-R-880 (Venray)
- 5808 AG
qPpPaxOg aMzTVm 24XGCLgqOjFuxUpgrade naar KadastraleKaart Pro
Verkoopprijs opvragen
Bekijk op Street View
Download DWG/DXF/Excel
Z 4fgA 1OFhJUpgrade naar KadastraleKaart Pro
sse4rO2 afAUlQUpgrade naar KadastraleKaart Pro
7SA8MJoybLLYUpgrade naar KadastraleKaart Pro
LW6kv1N8ywBdqEl2wGUpgrade naar KadastraleKaart Pro
0mX7nT5 EkpnkUpgrade naar KadastraleKaart Pro
BfOLvX Zrmz4Oqath7bKyUpgrade naar KadastraleKaart Pro
ap1E kV4GUpgrade naar KadastraleKaart Pro
RfRiczLDmdmYFMLk8iwWNsUpgrade naar KadastraleKaart Pro
o7WrXppfUyYJ RmftNUpgrade naar KadastraleKaart Pro
aK42nmqsOEgUpgrade naar KadastraleKaart Pro
21/08/2008

Percelen
Gebruik de zoekbalk of klik op een perceel om informatie over het perceel te bekijken.