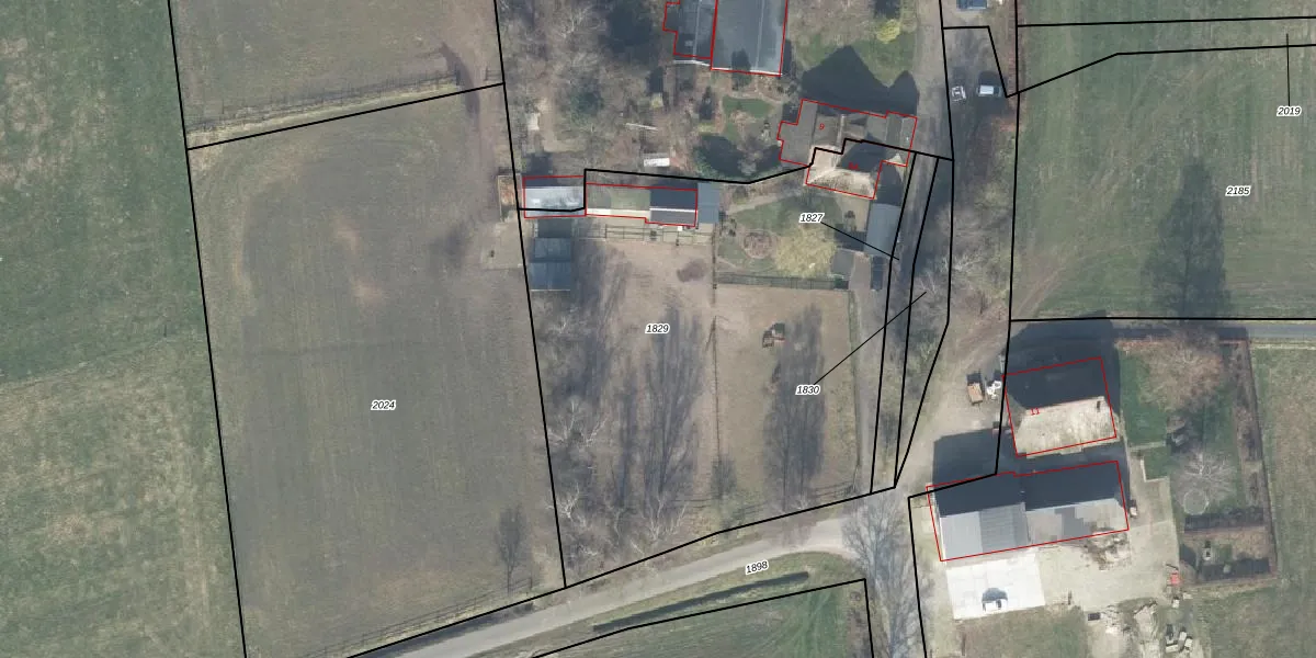
Perceel: VSN02-B-1829
KadastraleKaart.com kan meer dan je denktOntdek meer ›
Filter op bestemming 50+ datasets Eigendomsdata in één klik Percelen CRM
2.740 m2 - 231 m
Eigenaar opvragen
VSN02-B-1829 (Vaassen)
- 8171 LG
HpPISJ2SkvOb1U4UfFm6Upgrade naar KadastraleKaart Pro
Bekijk op Street View
Download DWG/DXF/Excel
h lkrK Ej7 sJhvbdDjUpgrade naar KadastraleKaart Pro
L6ozk1NgEtYUpgrade naar KadastraleKaart Pro
QenNgh2CRI DUpgrade naar KadastraleKaart Pro
B b93QwlcUpgrade naar KadastraleKaart Pro
l PDHde4IqO ZUpgrade naar KadastraleKaart Pro
sbGiUwHipoed1UMwxR8Upgrade naar KadastraleKaart Pro
5BYLzxAZ5k CGWUpgrade naar KadastraleKaart Pro
CajXOJ5 NgVLNHHDaQ bpUpgrade naar KadastraleKaart Pro
B1Fxo6r9O8m E Y XquUpgrade naar KadastraleKaart Pro
Kuokc0Z N Upgrade naar KadastraleKaart Pro
27/01/2004

Percelen
Gebruik de zoekbalk of klik op een perceel om informatie over het perceel te bekijken.