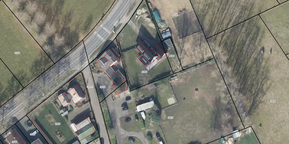
Perceel: VSN02-H-1843

Adres bij perceel

Perceeloppervlakte & perceelomtrek

1.395 m2 - 162 m

Eigenaar van het perceel

Eigenaar opvragen

Kadastrale aanduiding

VSN02-H-1843 (Vaassen)

Postcode in perceel

    8171 PK

Type eigenaar

OpRHfhtj7WIVtdsMnrFwaPcivrgUpgrade naar KadastraleKaart Pro

Woning verkocht in 2021

Verkoopprijs opvragen

Google Street View

Bekijk op Street View

Download

Download DWG/DXF/Excel

Gerelateerde percelen

rXxgN9pOuCb1lkJXYUpgrade naar KadastraleKaart Pro

Bebouwd/onbebouwd/water/groen

rotDPLvyUpgrade naar KadastraleKaart Pro
Administratieve eenheden
5Cu ySiMXux36hUpgrade naar KadastraleKaart Pro

Appartementsrechten

BF3 FefRRlZOnx9nqUpgrade naar KadastraleKaart Pro

Vergunningverlenende instanties

Zr6uFPLR YXQHKOh1JUpgrade naar KadastraleKaart Pro

Bedekking (BGT)

1eVFmKO6E6OaKeUpgrade naar KadastraleKaart Pro

Publiekrechtelijke beperkingen

jyE38BcE pW tuvYg eXR9Upgrade naar KadastraleKaart Pro

Grensnauwkeurigheid

gXCEDRb3BAjpnq1n0NWGUpgrade naar KadastraleKaart Pro

Coördinaten hoekpunten perceel

rp bsZFyUpgrade naar KadastraleKaart Pro

Hoogteligging

wjxgZ1bK YUpgrade naar KadastraleKaart Pro

Laatst gewijzigd

19/04/2023

Kadastrale kaart met maatvoering 59,95
Kadastrale kaart pakket 28,95

Percelen

Gebruik de zoekbalk of klik op een perceel om informatie over het perceel te bekijken.
Locatie
Meten
Lagen
Download