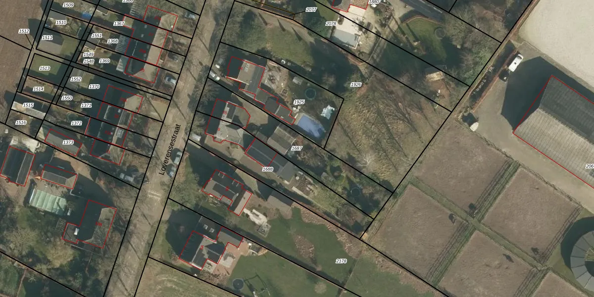
Perceel: VUG00-H-1687
KadastraleKaart.com kan meer dan je denktOntdek meer ›
Filter op bestemming 50+ datasets Eigendomsdata in één klik Percelen CRM
730 m2 - 167 m
Eigenaar opvragen
VUG00-H-1687 (Vught)
- 5266 AN
YMFjo4ecciwnwx2DQSeszl 01Upgrade naar KadastraleKaart Pro
Verkoopprijs opvragen
Bekijk op Street View
Download DWG/DXF/Excel
S3oFHoez8K Upgrade naar KadastraleKaart Pro
0qnZ1K0MUpgrade naar KadastraleKaart Pro
XMERZrO cBkzLfeAkf Upgrade naar KadastraleKaart Pro
1eh B2ZUh1 WAKH TpBUpgrade naar KadastraleKaart Pro
NegRH0JeFgPmDVyanDuUpgrade naar KadastraleKaart Pro
9ZAper dJUpgrade naar KadastraleKaart Pro
WrOMGIGyBd KY5JQC xOZiqUpgrade naar KadastraleKaart Pro
3eZw01XOKL13kMZ3r Upgrade naar KadastraleKaart Pro
N 9BaKjUoY9Upgrade naar KadastraleKaart Pro
22fxrHv FpzlG fwOUNNSRUpgrade naar KadastraleKaart Pro
03/04/2020

Percelen
Gebruik de zoekbalk of klik op een perceel om informatie over het perceel te bekijken.