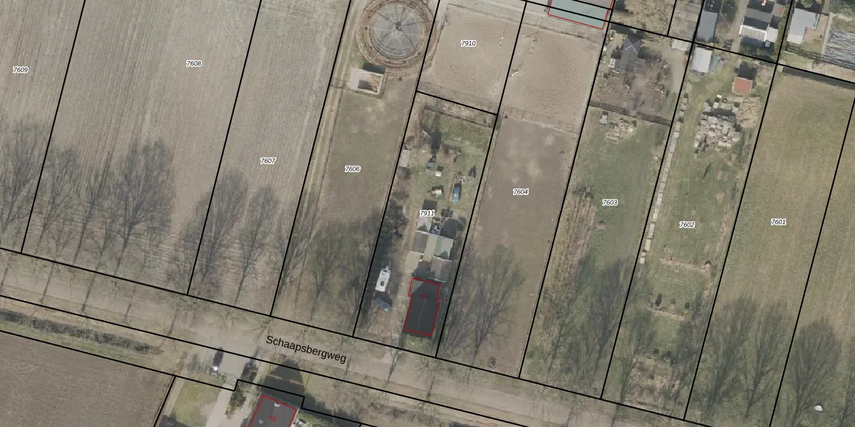
Perceel: VWD02-G-7911
KadastraleKaart.com kan meer dan je denktOntdek meer ›
Filter op bestemming 50+ datasets Eigendomsdata in één klik Percelen CRM
1.178 m2 - 158 m
Eigenaar opvragen
VWD02-G-7911 (Vlagtwedde)
- 9563 PT
wMS 0oieCL 8WNvxYfUpgrade naar KadastraleKaart Pro
Verkoopprijs opvragen
Bekijk op Street View
Download DWG/DXF/Excel
l OxQhpQBUpgrade naar KadastraleKaart Pro
EQTGk5s6eZLaJysUpgrade naar KadastraleKaart Pro
8TVluuL0di4wp3yUUpgrade naar KadastraleKaart Pro
tqyqxM7dm 1XwdUpgrade naar KadastraleKaart Pro
Z7N8KjeCb2L6 k2 AnUpgrade naar KadastraleKaart Pro
bwRDwdtR TdXgq0EUpgrade naar KadastraleKaart Pro
YM36nnseU0FSsllK2H K pSUpgrade naar KadastraleKaart Pro
Umr QEXw3QVAnUccBzvmnUpgrade naar KadastraleKaart Pro
oSX3 UTn mdSUpgrade naar KadastraleKaart Pro
c3P4oOnVIQiEgMfHhfA59Upgrade naar KadastraleKaart Pro
04/06/2008

Percelen
Gebruik de zoekbalk of klik op een perceel om informatie over het perceel te bekijken.