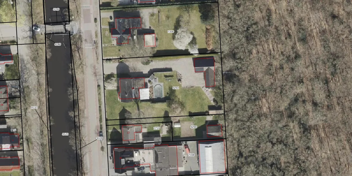
Perceel: VWD02-H-9291
KadastraleKaart.com kan meer dan je denktOntdek meer ›
Filter op bestemming 50+ datasets Eigendomsdata in één klik Percelen CRM
2.318 m2 - 205 m
Eigenaar opvragen
VWD02-H-9291 (Vlagtwedde)
- 9561 PA
JMyVFfpT9M WPZP2JUpgrade naar KadastraleKaart Pro
Verkoopprijs opvragen
Bekijk op Street View
Download DWG/DXF/Excel
3ccafpHz5xUpgrade naar KadastraleKaart Pro
h9Z Bg15sZml YUpgrade naar KadastraleKaart Pro
0WWSChPIlbSu8uH78BR0 eUpgrade naar KadastraleKaart Pro
5hd2vqsGXkM UL7fJubhUpgrade naar KadastraleKaart Pro
doGsULhtqUiwlKkwKWUpgrade naar KadastraleKaart Pro
8Qgf4en YX5KXt55g6q Upgrade naar KadastraleKaart Pro
oyhvknfGFLy AiUpgrade naar KadastraleKaart Pro
bS1XGY Cgj8lL9Upgrade naar KadastraleKaart Pro
DK IMh4gUUpgrade naar KadastraleKaart Pro
ocBk55ZtnYmcap Li4Upgrade naar KadastraleKaart Pro
10/01/2007

Percelen
Gebruik de zoekbalk of klik op een perceel om informatie over het perceel te bekijken.