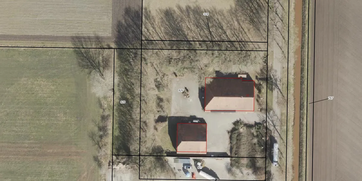
Perceel: VWD02-P-826
KadastraleKaart.com kan meer dan je denktOntdek meer ›
Filter op bestemming 50+ datasets Eigendomsdata in één klik Percelen CRM
4.115 m2 - 257 m
Eigenaar opvragen
VWD02-P-826 (Vlagtwedde)
- 9561 TM
mXyvg7sHhWG1RGGZI USF4 qxUpgrade naar KadastraleKaart Pro
Verkoopprijs opvragen
Bekijk op Street View
Download DWG/DXF/Excel
3aMDCWb18uEUpgrade naar KadastraleKaart Pro
EgJ3DsR 4WtFVDUpgrade naar KadastraleKaart Pro
86ubZ6Iic24mXGS5WAoMYOUpgrade naar KadastraleKaart Pro
CKxtf5vj 2 eAZsWzH EtUpgrade naar KadastraleKaart Pro
UiQeE8gU6TkZOa PHwtSmUpgrade naar KadastraleKaart Pro
R4DMqyHON3KrspUpgrade naar KadastraleKaart Pro
jSGPBNN xHG2Bd4XTUpgrade naar KadastraleKaart Pro
3KU1IUM4CkwpdzV2R38pUpgrade naar KadastraleKaart Pro
qOpNgdY4 ciCq5 yH Upgrade naar KadastraleKaart Pro
IQQIhqyhiUpgrade naar KadastraleKaart Pro
13/06/2008

Percelen
Gebruik de zoekbalk of klik op een perceel om informatie over het perceel te bekijken.