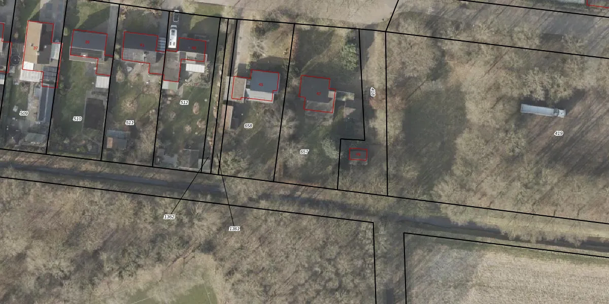
Perceel: WDE03-I-657
1.186 m2 - 156 m
Eigenaar opvragen
WDE03-I-657 (Wedde)
- 9697 PP
zmlYJ vabNfAQOMu8AQzfUpgrade naar KadastraleKaart Pro
Verkoopprijs opvragen
Bekijk op Street View
Download DWG/DXF/Excel
Bu0M n ZT lGdjnx66 wyHFUpgrade naar KadastraleKaart Pro
IOqxLrL KuUpgrade naar KadastraleKaart Pro
FGvJz h3uIm KBhzUpgrade naar KadastraleKaart Pro
MNUe wsyv9kkF0DfMMmAQUnUpgrade naar KadastraleKaart Pro
NOznQ bvq3utO cGE aFHtUpgrade naar KadastraleKaart Pro
f0HC8NKsJVG K vxUpgrade naar KadastraleKaart Pro
1WveRM2QjTicFa7gcjeLUpgrade naar KadastraleKaart Pro
p6MnjvikwgG iUpgrade naar KadastraleKaart Pro
ypwYmGarLB8E9aznDMUpgrade naar KadastraleKaart Pro
RE5ZFnkCMPHVZoZOUpgrade naar KadastraleKaart Pro
14/11/1997

Percelen
Gebruik de zoekbalk of klik op een perceel om informatie over het perceel te bekijken.