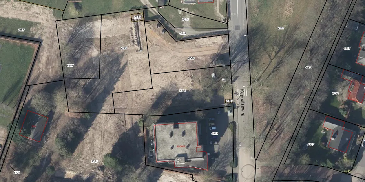
Perceel: WEH00-H-7304
KadastraleKaart.com kan meer dan je denktOntdek meer ›
Filter op bestemming 50+ datasets Eigendomsdata in één klik Percelen CRM
1.273 m2 - 181 m
Eigenaar opvragen
WEH00-H-7304 (Wehl)
- 7031 AR
LgGEBzCdPXxHcH 9Ag eX2 WEjjUpgrade naar KadastraleKaart Pro
Bekijk op Street View
Download DWG/DXF/Excel
mdzfNIg ctpV4e db7cIgUpgrade naar KadastraleKaart Pro
ysEhX39cd l0LLXUpgrade naar KadastraleKaart Pro
EagpwQ7WUpgrade naar KadastraleKaart Pro
K5BYPgq 3d94lokUpgrade naar KadastraleKaart Pro
WI B3IO3Fh 0cgQhUpgrade naar KadastraleKaart Pro
a8Ylcb1wbLcR9n Upgrade naar KadastraleKaart Pro
dzVqUUaH ZTUpgrade naar KadastraleKaart Pro
8z5wDn Kk9k8hb4U5hs4ivrUpgrade naar KadastraleKaart Pro
p2xUnN2cXsfVh4OUpgrade naar KadastraleKaart Pro
GtD9gQOWfAYS4n3fUpgrade naar KadastraleKaart Pro
09/02/2026

Percelen
Gebruik de zoekbalk of klik op een perceel om informatie over het perceel te bekijken.